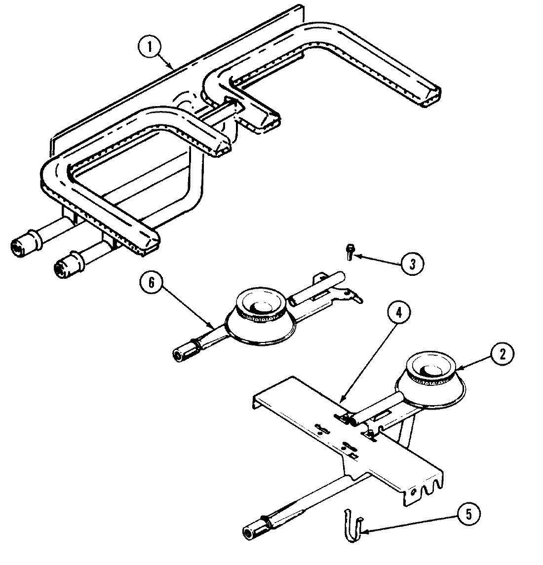
SEG196 06 – BURNER/MANIFOLD ASSEMBLYadmin2025-04-26T08:53:12+00:00SEG196 06 – BURNER/MANIFOLD ASSEMBLY ProductsPositionProduct1Y712601 Whirlpool Burner Grille2MAY Y7054022MAY 7051063WP90767 Whirlpool Screw4WP3801F403-80 Whirlpool Bracket5MAY 7045496MAY Y7054016MAY 705105