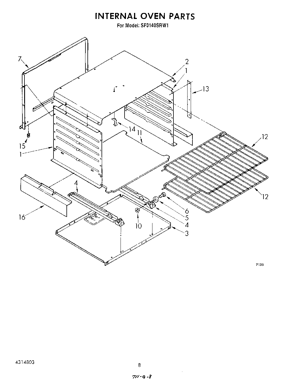
SF0140SRW1 06 – INTERNAL OVEN