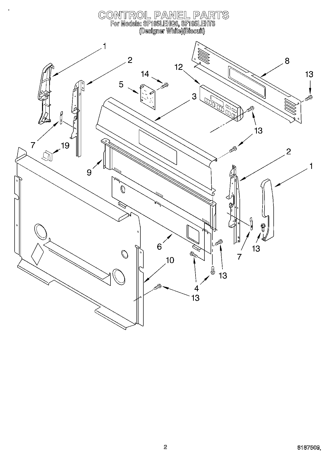
SF195LEHT6 02 – CONTROL PANELadmin2025-04-26T11:26:24+00:00SF195LEHT6 02 – CONTROL PANEL ProductsPositionProduct1Endcap (Biscuit Right Hand)1Endcap (Biscuit Left Hand)1Endcap (White Left Hand)1Endcap (White Right Hand)2Support, Endcap (Left Hand)2Support, Endcap (Right Hand)3Panel, Backguard3Panel, Backguard (Biscuit)4Screw5WPW10331686 Whirlpool Oven Spark Module68053505 Whirlpool Oven Shield73196200 Whirlpool Clip8Cover, Upper9Shield, Heat10Cover, Lower12Control, Range (White)12Control, Range (Biscuit)13SCREW14WP3196557 Whirlpool Screw19WP8273564 Whirlpool Clip