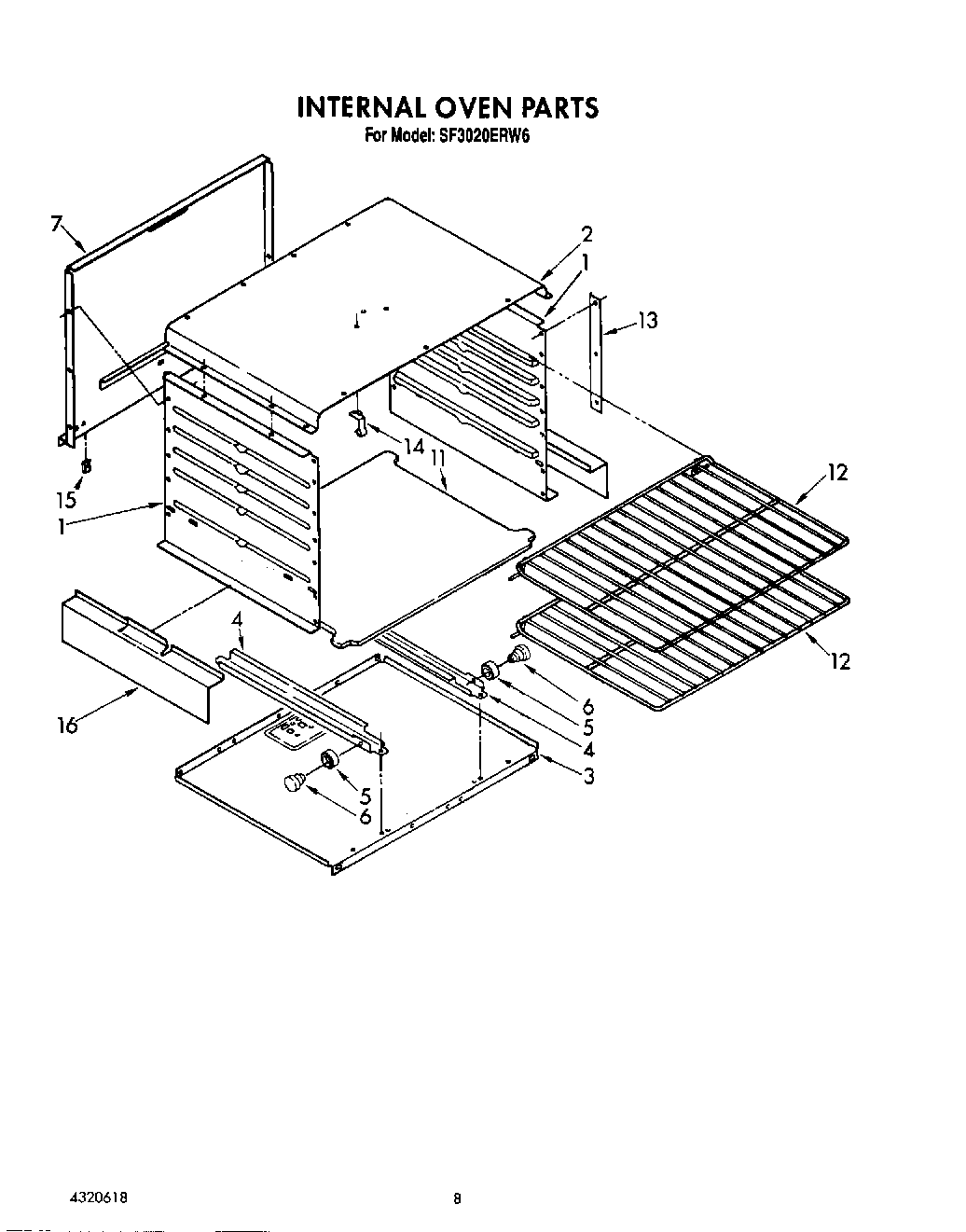
SF3020ERN6 06 – INTERNAL OVENadmin2025-04-26T11:19:40+00:00SF3020ERN6 06 – INTERNAL OVEN
Products
| Position | Product |
|---|
| 1 | Liner, Oven Side (2) |
| 2 | Liner, Oven Top |
| 3 | Baffle, Bottom |
| 4 | Track, Broiler (Left Hand) |
| 4 | Track, Broiler (Right Hand) |
| 4 | WP308685 Whirlpool Microwave Screw |
| 5 | Roller (2) |
| 6 | Pin, Roller (2) |
| 7 | Liner, Oven Back |
| 11 | Bottom, Oven |
| 12 | Rack, Oven (2) |
| 13 | Support, Liner (2) |
| 14 | 98005642 Whirlpool Clip |
| 15 | Clip, Speed |
| 16 | Shield, Radiation |