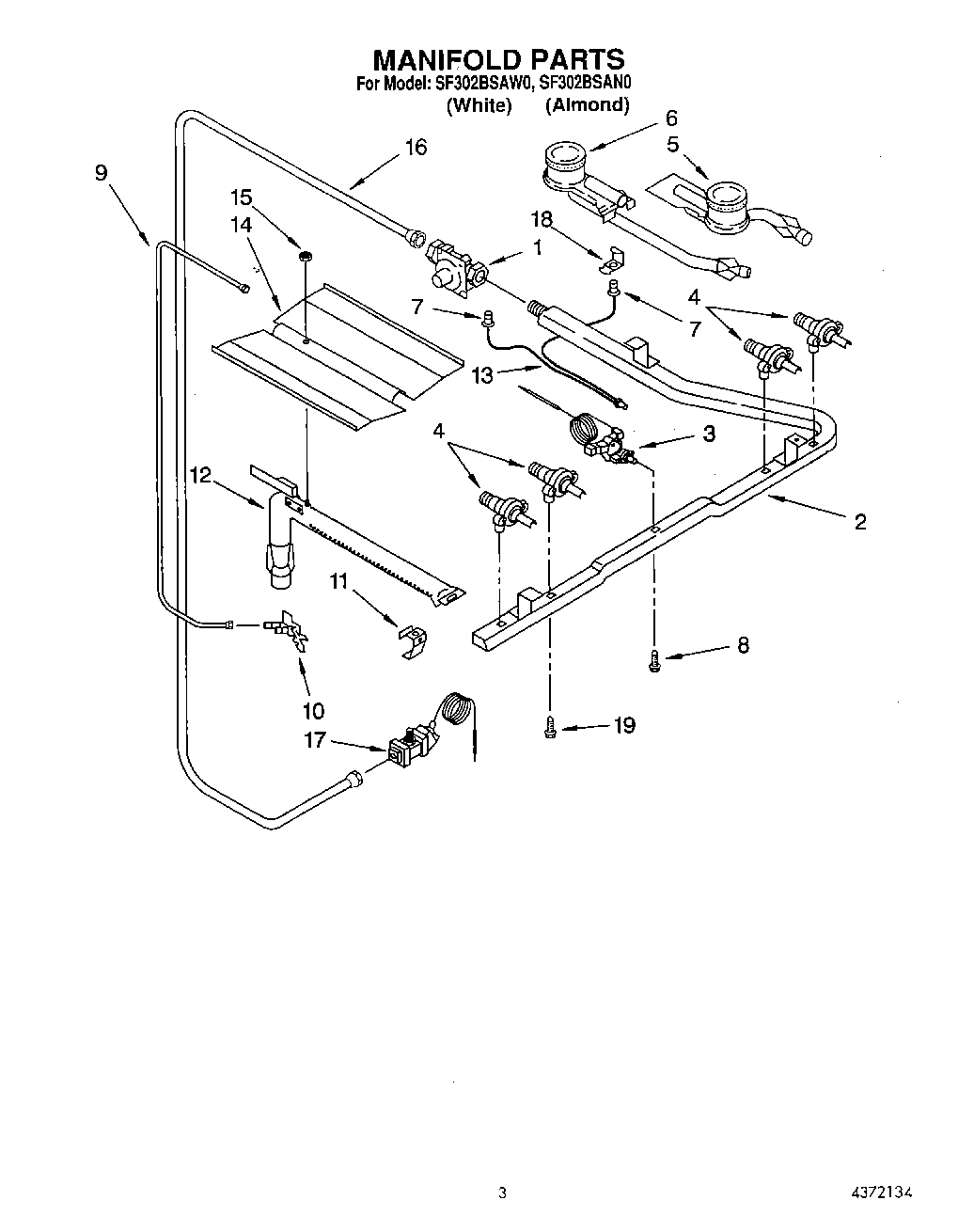
SF302BSAW0 02 – MANIFOLD