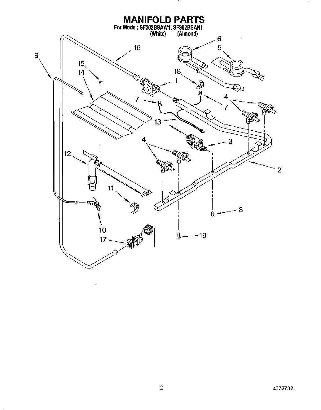
SF302BSAW1 02 – MANIFOLD