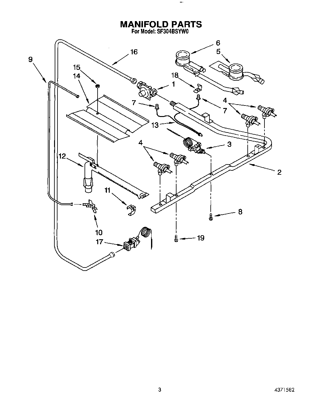
SF304BSYN0 03 – MANIFOLDadmin2025-04-26T11:21:39+00:00SF304BSYN0 03 – MANIFOLD ProductsPositionProduct1Regulator, Pressure2Pipe, Manifold3Thermostat4Valve, 2 pos (4)5Burner, Front (2)6Burner, Rear (2)7Cap, Pilot (2)8Screw, Thermostat9Tubing, Thermostat10Pilot, Oven11Bracket, Burner12Burner, Oven13Tubing, Pilot14Baffle, Oven Burner15Nut, Hex (2)16Tubing, Valve17Valve, Safety18Shield, Pilot19WP3186217 Whirlpool Screw