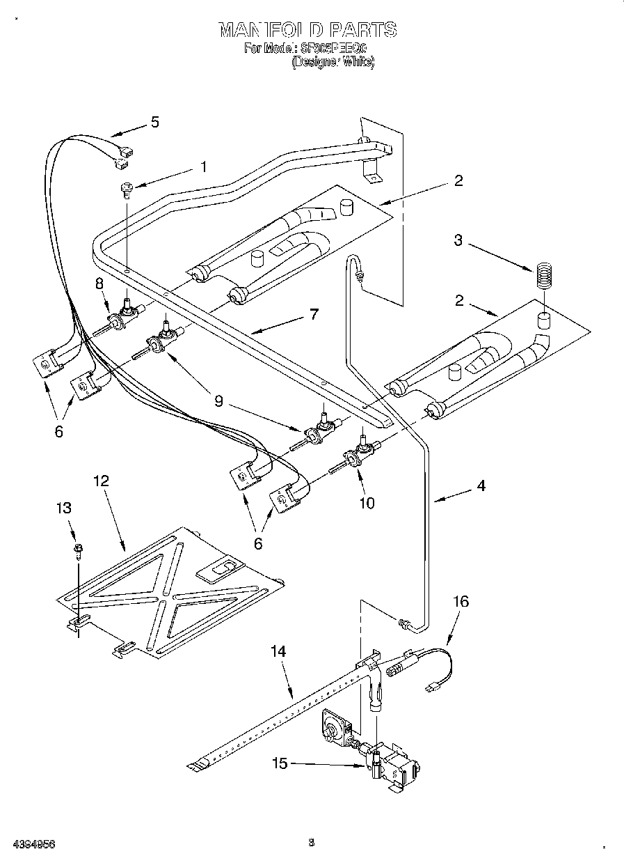
SF305PEEQ0 03 – MANIFOLD