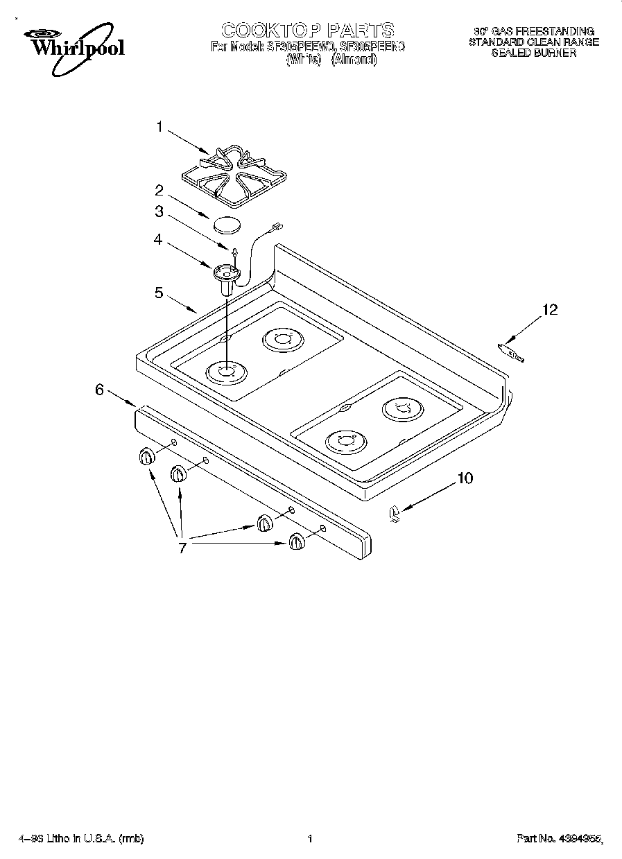
SF305PEEW0 01 – COOKTOP