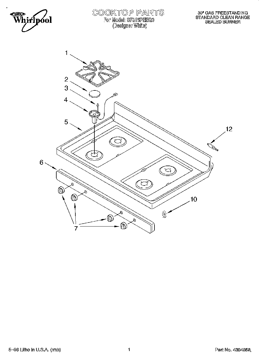
| 1 | Grate, Burner (4) |
| 2 | Cap, Burner (Large (3)) |
| 2 | Cap, Burner (Small (1)) |
| 3 | W11032529 Whirlpool Surface Igniter |
| 4 | Burner, 6,500 BTU (RR) |
| 4 | WP8053360 Whirlpool Burner Head |
| 4 | WPW10132940 Whirlpool Dishwasher Screw |
| 5 | Cooktop (White) |
| 6 | WP8523854 Whirlpool Manifold Panel |
| 6 | WP3196557 Whirlpool Screw |
| 7 | WP3186135 Whirlpool Control Knob |
| 10 | Clip - Mounting |
| 12 | WP3195060 Whirlpool Cooktop Pin |
| 12 | SCREW |