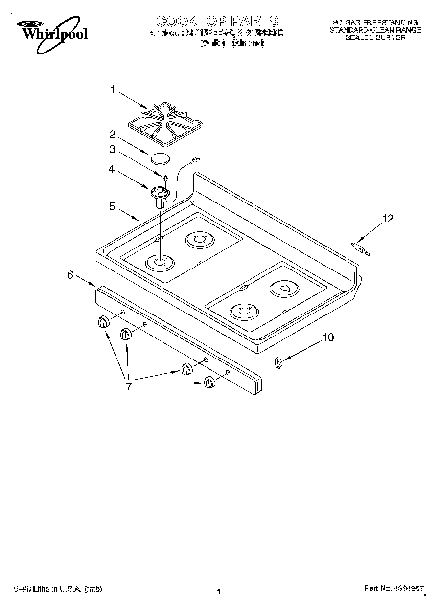
SF315PEEW0 01 – COOKTOP