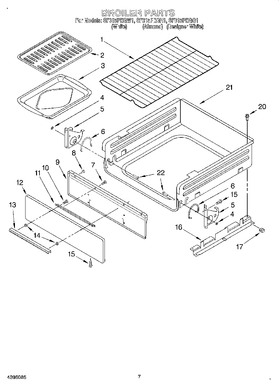
SF315PEGN1 05 – BROILER