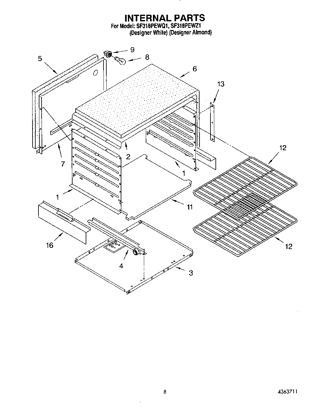
SF318PEWQ1 05 – INTERNAL