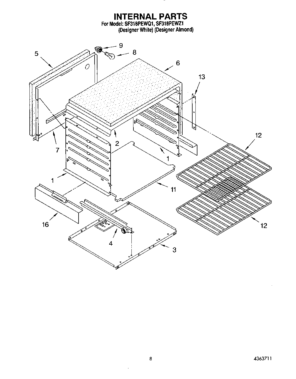
SF318PEWZ1 05 – INTERNAL