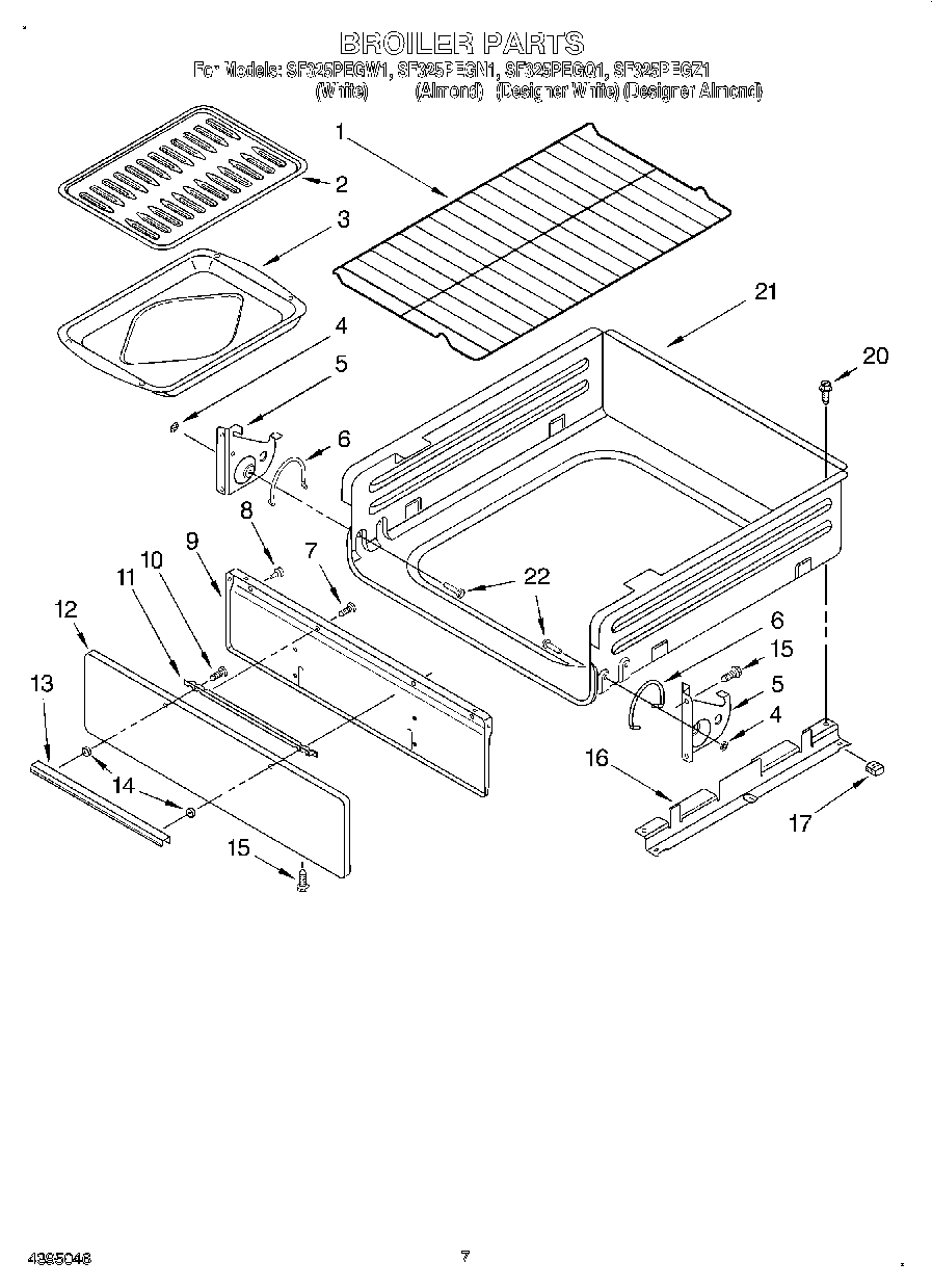
| 1 | WPW10256908 Whirlpool Oven Range Rack |
| 2 | WP3195996 Whirlpool Pan Grid |
| 3 | WP3196076 Whirlpool Broil Pan |
| 4 | WP3195558 Whirlpool Nut |
| 5 | Bracket, Hinge (Right Hand) |
| 5 | Bracket, Hinge (Left Hand) |
| 6 | Spring, Hinge (Left Hand) |
| 6 | Spring, Hinge (Right Hand) |
| 7 | Screw |
| 8 | Bumper (4) |
| 9 | Liner, Brlr Door |
| 10 | Screw, Handle (2) |
| 11 | Bracket, Standoff |
| 12 | Panel, Door (Almond) |
| 12 | Panel, Door |
| 13 | Handle, Brlr Door (White) |
| 13 | Handle, Brlr Door (Black) |
| 13 | Handle, Brlr Door (Almond Model) |
| 14 | Spacer, Handle (2) |
| 15 | SCREW |
| 16 | Guide, Upper (2) |
| 17 | Glide, Broiler (2) |
| 20 | WP3400832 Whirlpool Screw |
| 21 | Carriage, Broiler |
| 22 | Pin, Pivot (2) |