SF337PEYN1 02 – CONTROL PANEL, LIT/OPTIONALadmin2025-04-26T11:25:46+00:00SF337PEYN1 02 – CONTROL PANEL, LIT/OPTIONAL
Products
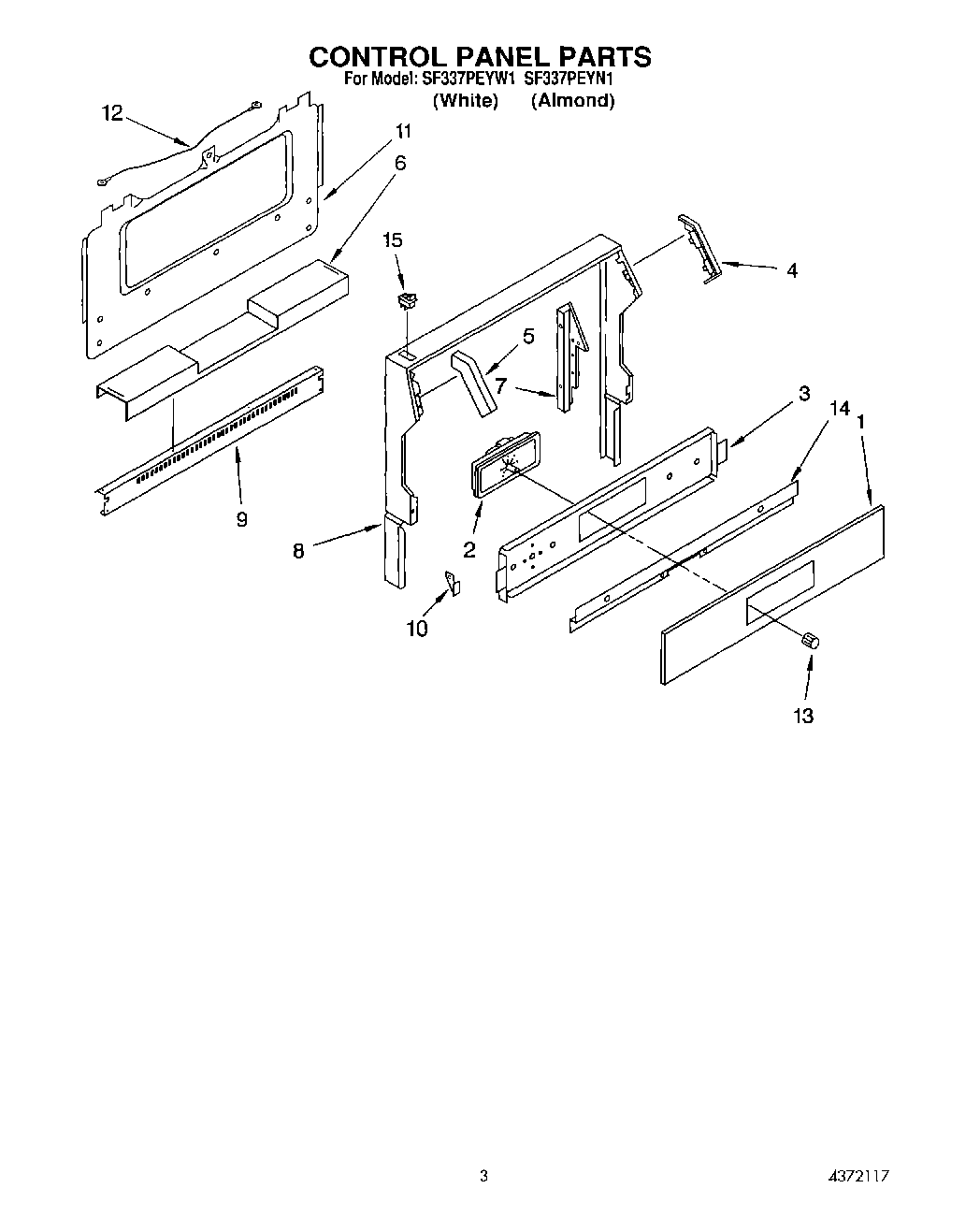
| Position | Product |
|---|
| List, Repair Parts |
| Guide, Use & Care |
| Instructions, Installation |
| 1 | Panel, Control |
| 2 | Clock |
| 3 | Bracket, Timer |
| 4 | Cap, End (R.H.) |
| 5 | Cap, End (L.H.) |
| 6 | Deflector, Flue |
| 7 | Support, Control Panel (R.H.) |
| 7 | Support, Control Panel (L.H.) |
| 8 | Trim, Wrapper |
| 9 | Trim, Vent |
| 10 | Cap, Filler |
| 11 | Shield, Rear Wall |
| 12 | Cable, Anti-Tip |
| 13 | Knob, Clock |
| 14 | Retainer, Timer |
| 15 | WP4314961 Whirlpool Lite Switch |