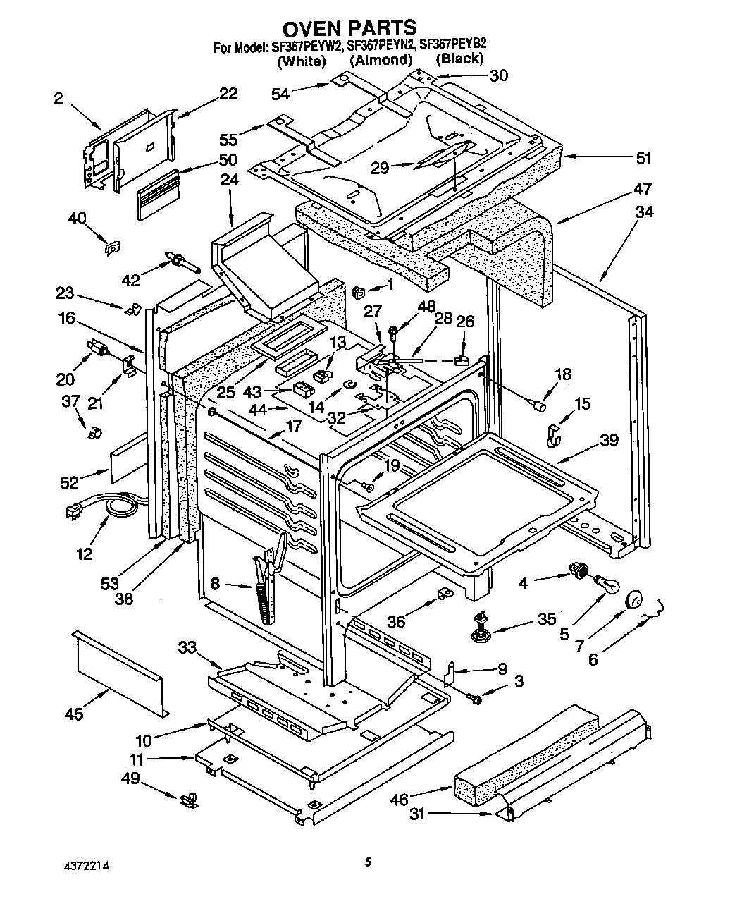
SF367PEYQ1 05 – OVEN