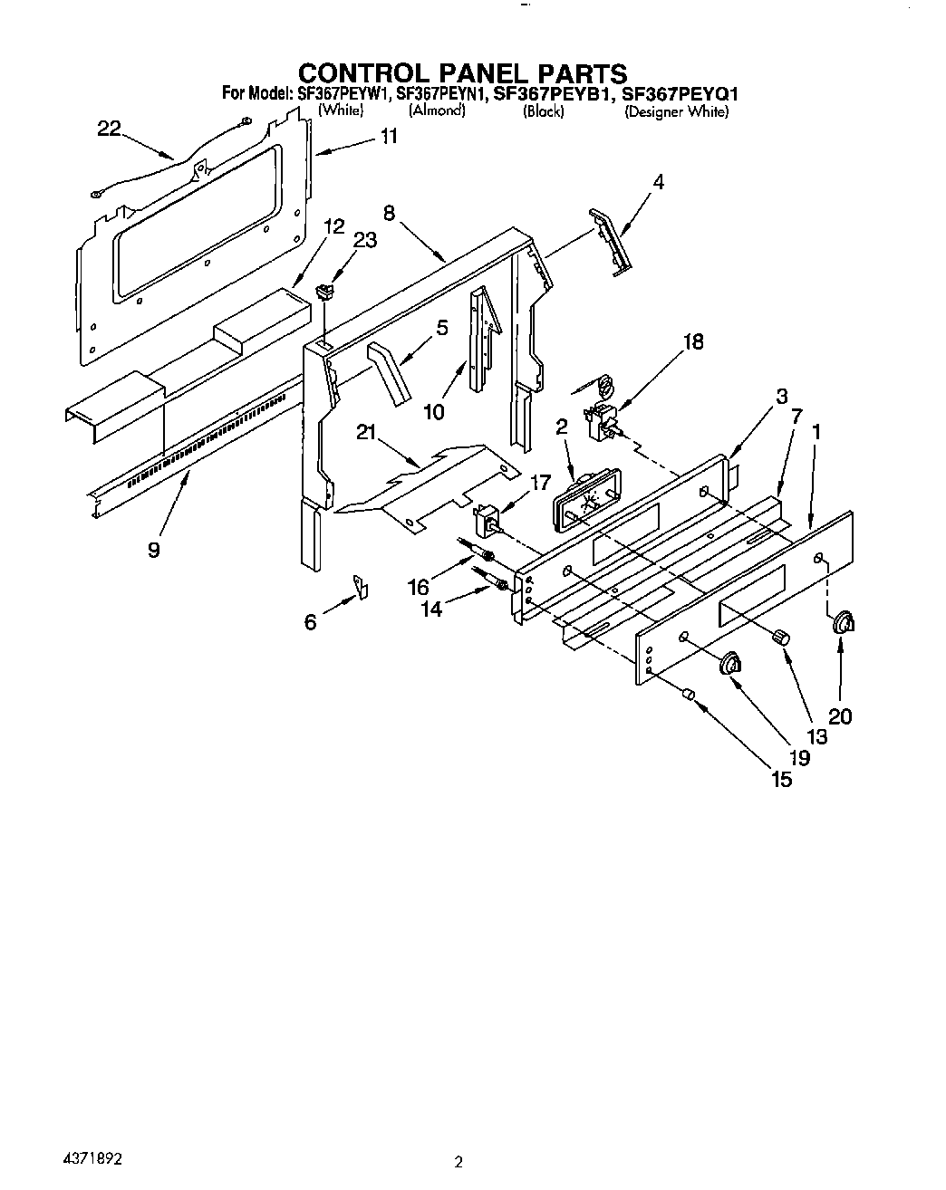
SF367PEYW1 02 – CONTROL PANEL