SF370PEGQ1 02 – CONTROL PANELadmin2025-04-26T11:26:12+00:00SF370PEGQ1 02 – CONTROL PANEL
Products
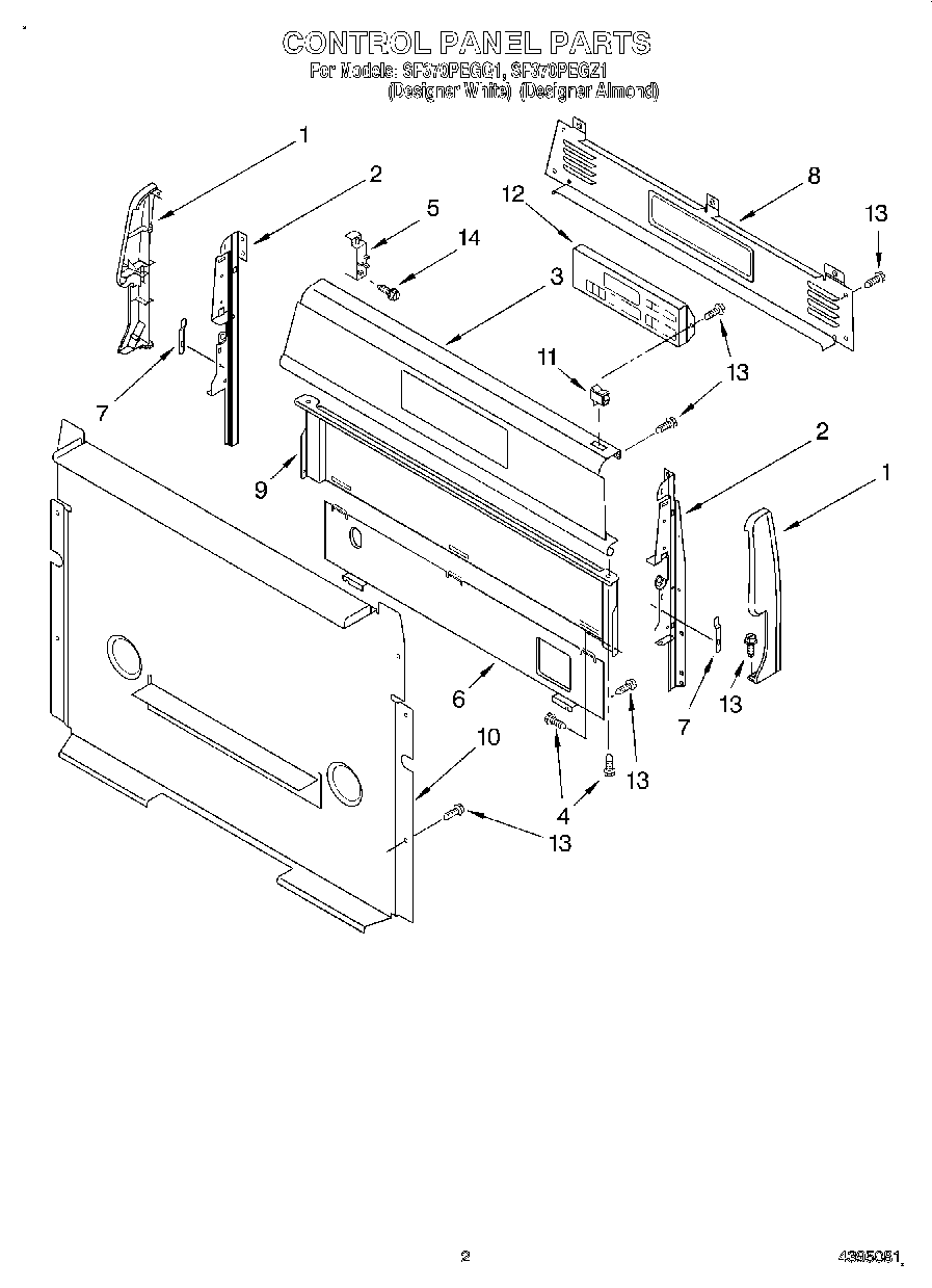
| Position | Product |
|---|
| 1 | Endcap (White Left Hand) |
| 1 | Endcap (White Right Hand) |
| 1 | Endcap (Almond Left Hand) |
| 1 | Endcap (Almond Right Hand) |
| 2 | Support, Endcap (Left Hand) |
| 2 | Support, Endcap (Right Hand) |
| 3 | Panel, Backguard (Includes No.11) (Almond) |
| 3 | Panel, Backguard (White) |
| 4 | Screw |
| 5 | WP8053421 Whirlpool Oven Spark Module |
| 6 | 8053505 Whirlpool Oven Shield |
| 7 | 3196200 Whirlpool Clip |
| 8 | Cover, Upper |
| 9 | Shield, Heat |
| 10 | Cover, Lower |
| 11 | Switch, Rocker (Almond) |
| 11 | 3149360 Whirlpool Light Switch |
| 12 | Control, Range (White) |
| 12 | Control, Range (Almond) |
| 13 | SCREW |
| 14 | WPY706189 Whirlpool Stove Screw |