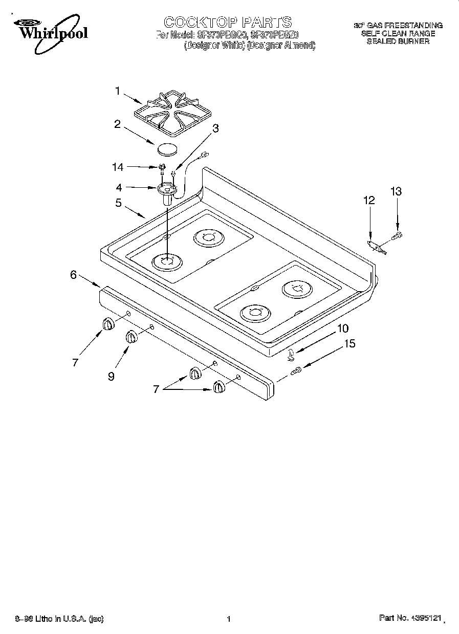
| 1 | W10837340 Whirlpool Grate Kit |
| 1 | WPW10268483 Whirlpool Grate Kit |
| 2 | Cap, Burner (Small (1) (Black)) |
| 2 | (Cap, Burner Small (1)) (Gray) |
| 2 | Cap, Burner (Large (3) (Black)) |
| 2 | Cap, Burner Large (3) (Gray) |
| 3 | W11122877 Whirlpool Surface Igniter |
| 3 | W11117434 Whirlpool Surface Igniter |
| 3 | W11032529 Whirlpool Surface Igniter |
| 3 | W11087383 Whirlpool Surface Igniter |
| 4 | WP8053360 Whirlpool Burner Head |
| 4 | Burner, 6,500 BTU (RR) |
| 5 | Cooktop (Almond) |
| 5 | Cooktop (White) |
| 6 | Panel, Manifold (Almond Model) |
| 6 | WP8523854 Whirlpool Manifold Panel |
| 7 | WP8053596 Whirlpool Knob |
| 7 | Knob, Control (2) (Almond) |
| 9 | Knob, Powerburner (Almond) |
| 10 | Clip - Mounting |
| 12 | WP3195060 Whirlpool Cooktop Pin |
| 13 | SCREW |
| 14 | WP3400861 Whirlpool Screw |
| 15 | WP3196557 Whirlpool Screw |