SF375BEPW1 07 – BACKGUARD, LIT/OPTIONALadmin2025-04-26T12:53:40+00:00SF375BEPW1 07 – BACKGUARD, LIT/OPTIONAL
Products
| Position | Product |
|---|
| List, Repair Parts |
| Instructions, Installation |
| Guide, Use & Care |
| Guide, Cooking |
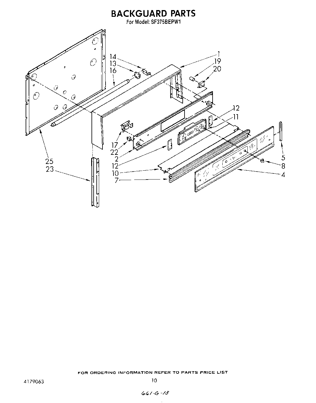
| 1 | WP965173 Whirlpool Dishwasher Screw |
| 1 | Frame |
| 1 | Screw (4) |
| 1 | Plate, Latch |
| 1 | Screw, Handle (4) |
| 1 | Screw, 8 X 3/8 (14) |
| 2 | Panel, Control Mounting |
| 4 | Glass, Control Panel |
| 5 | Channel, Glass (2) |
| 7 | Trim, Lower |
| 8 | Knob, Clock |
| 10 | Shield, Heat |
| 11 | Clock |
| 12 | WPL 786706 |
| 13 | Lampholder Fluorescent |
| 14 | Support, Lamp Socket (Right Side) |
| 14 | Support, Lamp Socket (Left Side) |
| 16 | Lamp, Fluorescent |
| 17 | Ballast |
| 19 | Starter, Fluorescent |
| 20 | Socket, Starter |
| 22 | Indicator Light |
| 23 | Support, Control Panel (2) |
| 25 | Panel, Cover |