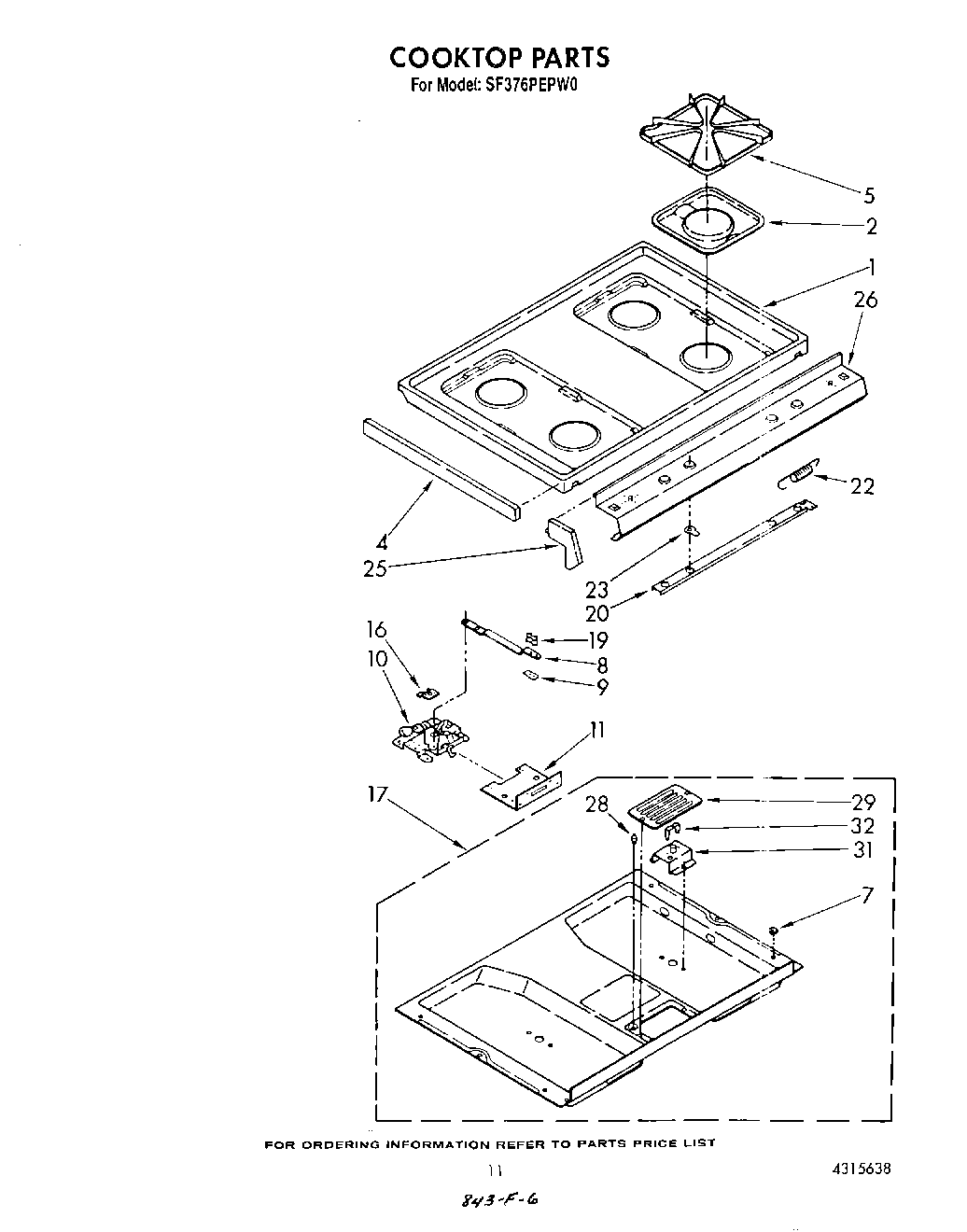
SF376PEPW0 08 – COOK TOP