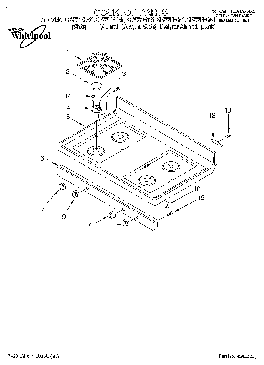
SF377PEGZ1 01 – COOKTOP