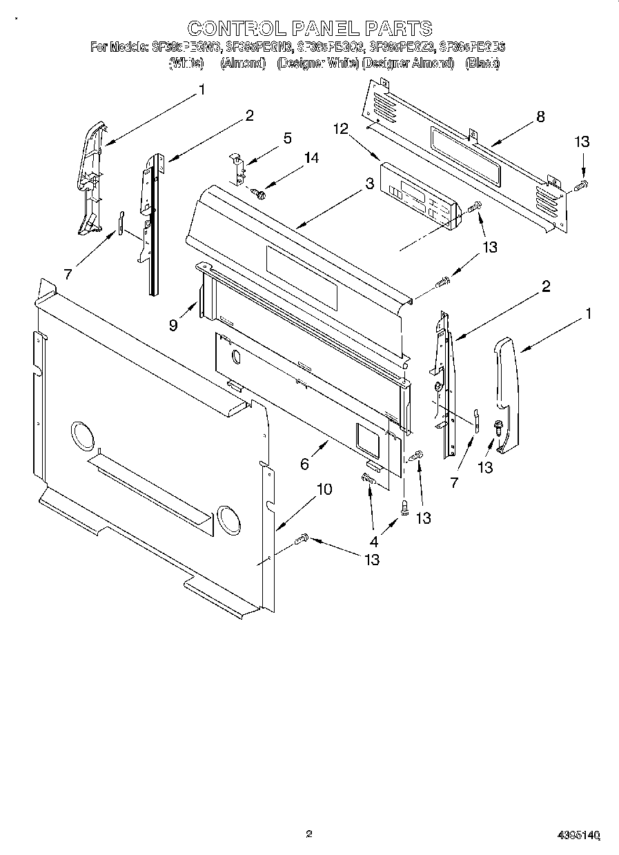
SF385PEGN3 02 – CONTROL PANEL