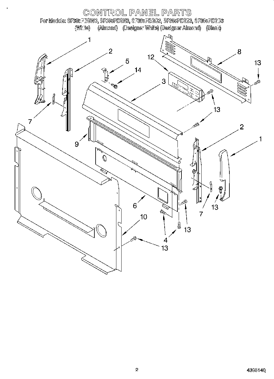
SF385PEGQ3 02 – CONTROL PANEL