SF387LEGN6 02 – CONTROL PANELadmin2025-04-26T13:08:05+00:00SF387LEGN6 02 – CONTROL PANEL
Products
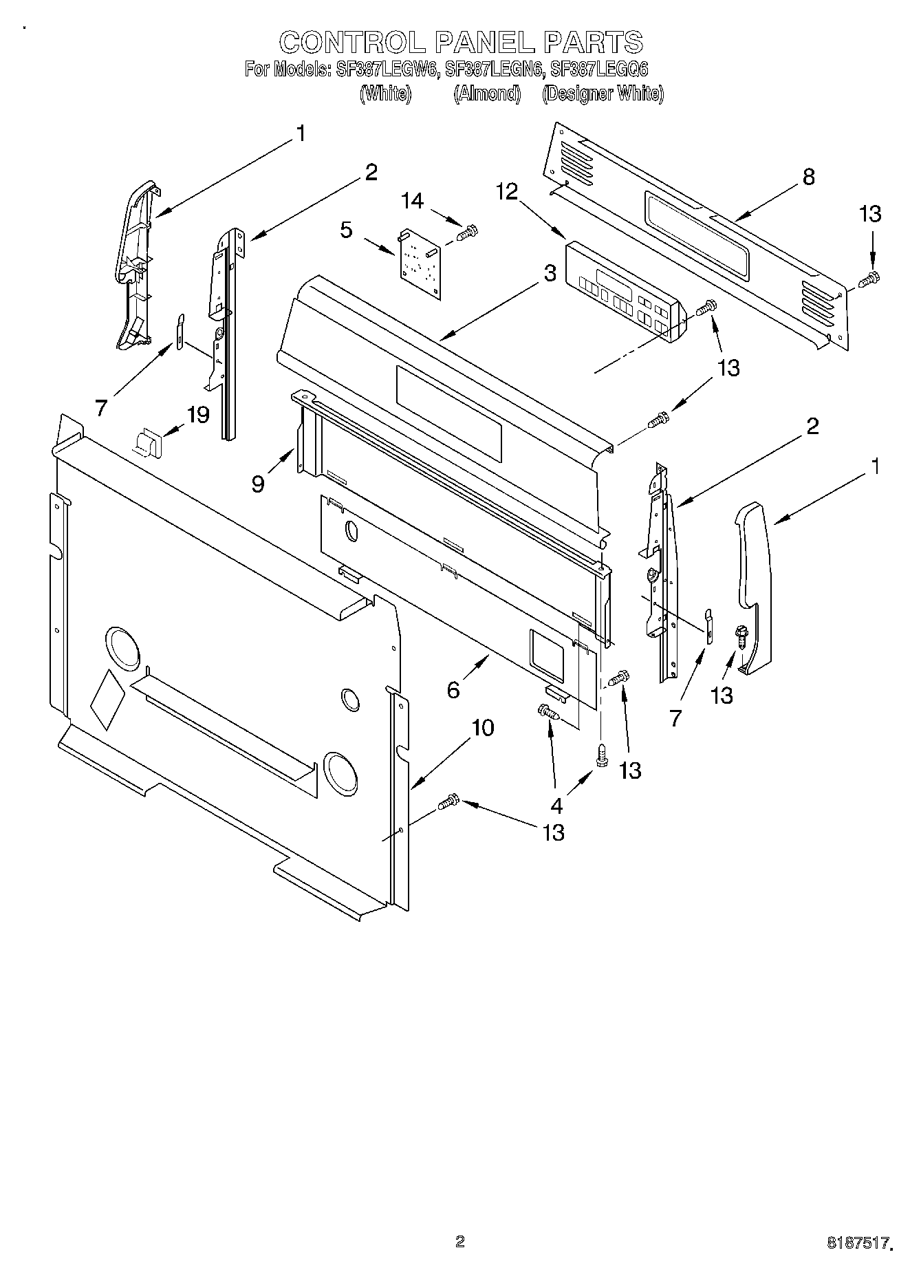
| Position | Product |
|---|
| 1 | Endcap, Right Hand (Black) |
| 1 | Endcap (Black Left Hand) |
| 1 | Endcap (White Left Hand) |
| 1 | Endcap (White Right Hand) |
| 2 | Support, Endcap (Left Hand) |
| 2 | Support, Endcap (Right Hand) |
| 3 | Panel, Backguard |
| 3 | Panel, Control (Black) |
| 4 | Screw |
| 5 | WPW10331686 Whirlpool Oven Spark Module |
| 6 | 8053505 Whirlpool Oven Shield |
| 7 | 3196200 Whirlpool Clip |
| 8 | Cover, Upper |
| 9 | Shield, Heat |
| 10 | Cover, Lower |
| 12 | Control, Range |
| 12 | Control, Range (Black) |
| 13 | SCREW |
| 14 | WP3196557 Whirlpool Screw |
| 19 | WP8273564 Whirlpool Clip |