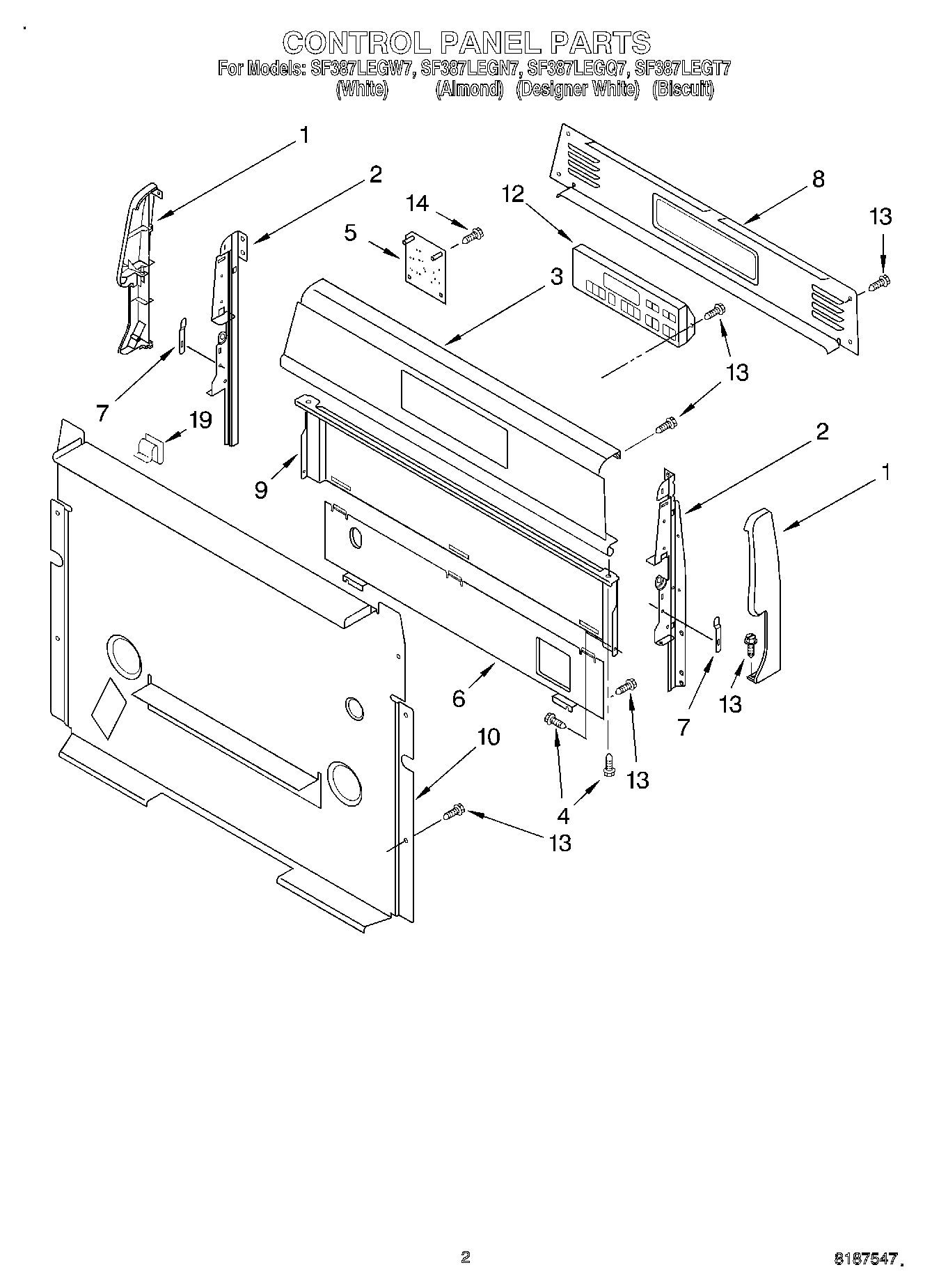
SF387LEGT7 02 – CONTROL PANEL