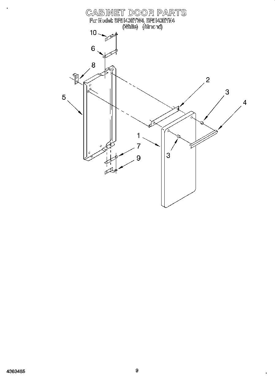
SF5140EYN4 06 – CABINETadmin2025-04-26T13:10:21+00:00SF5140EYN4 06 – CABINET ProductsPositionProduct1Panel, Door (Almond)1Panel, Door (White)2Bracket, Handle3Spacer (4)4Handle, Broiler Door4Screw5Liner, Door6Arm, Top7Arm, Bottom8Catch8WP308685 Whirlpool Microwave Screw9Hinge, Bottom10Hinge, Top