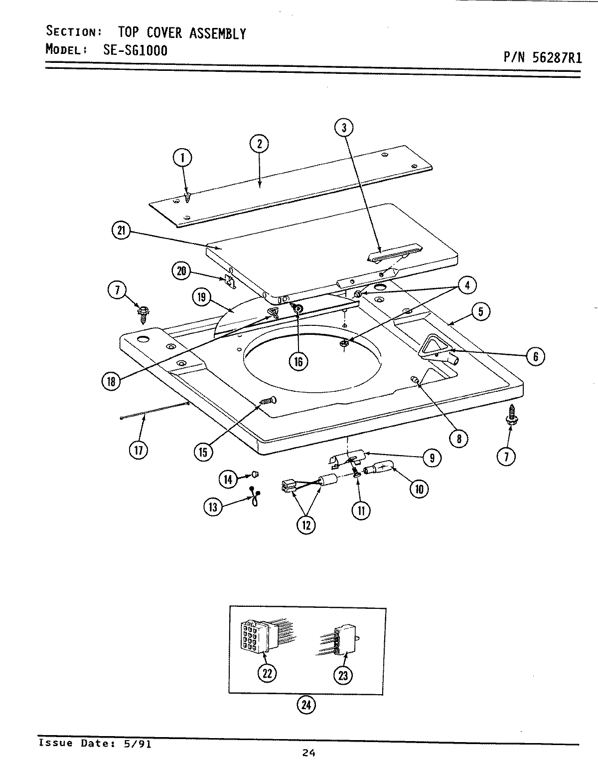
SG1000 20 – WASHER TOP COVER ASSEMBLYadmin2025-04-26T08:53:14+00:00SG1000 20 – WASHER TOP COVER ASSEMBLY ProductsPositionProduct1MAY 3146642MAY 2152453MAY 2155503MAY 2155513MAY 2066674MAY 2152495MAY 2066365MAY 2065996MAY 2155796MAY 2153747MAY 2143548MAY 2152479MAY 21100310MAY 21031011MAY 21196712MAY 21100112MAY 20640813MAY 21527214MAY 91200615MAY 05375916MAY 21150016MAY 21208717MAY 21527418MAY 21525419MAY 21524620MAY 21525321MAY 215251L21MAY 21525122MAY 21553922MAY 21308723MAY 20642024MAY 21307624MAY 20642224MAY 20684924MAY 91201624MAY Y31295324MAY 91208024MAY Y31265824MAY 912083