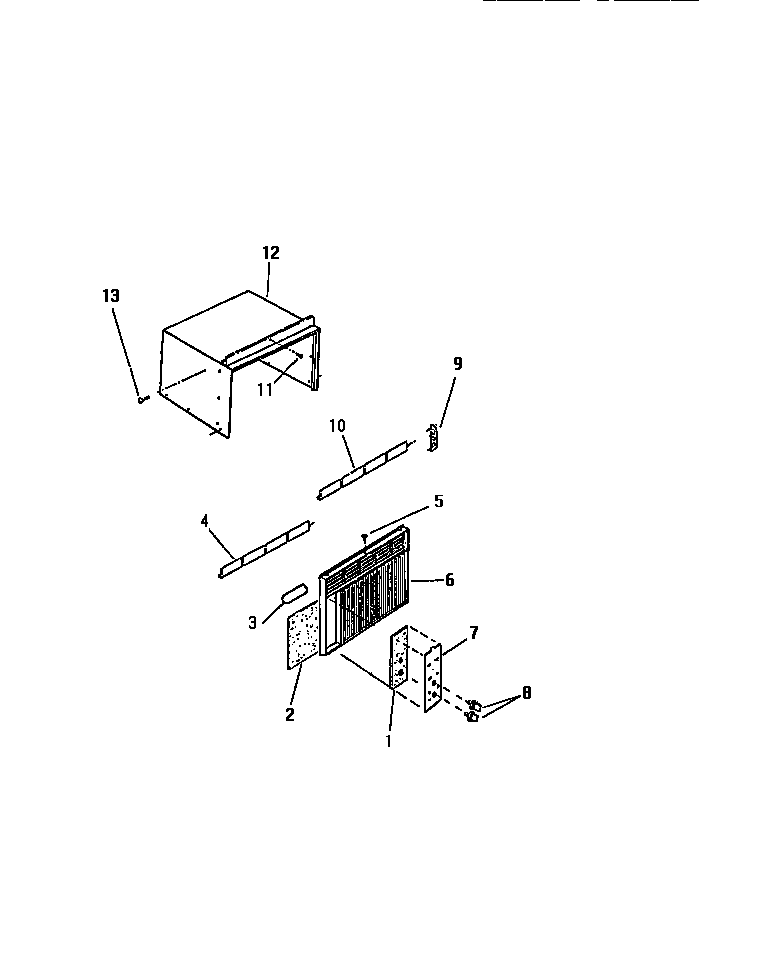
SH310C1QA 02 – CABINET, FRONT, WRAPPER
Products
| Position | Product |
|---|---|
| 1 | PAD-CNTL PNL |
| 2 | WCI G145332-21 |
| 3 | WCI G99731 |
| 4 | WCI G505643-02 |
| 5 | SCREW-FRT PNL |
| 6 | WCI G159247-09 |
| 7 | PANEL-DECOR |
| 8 | WCI G110826 |
| 9 | WCI G131870 |
| 10 | WCI G508869-01 |
| 11 | WCI G100822 |
| 12 | WCI G521089 |
| 13 | WCI G521208 |