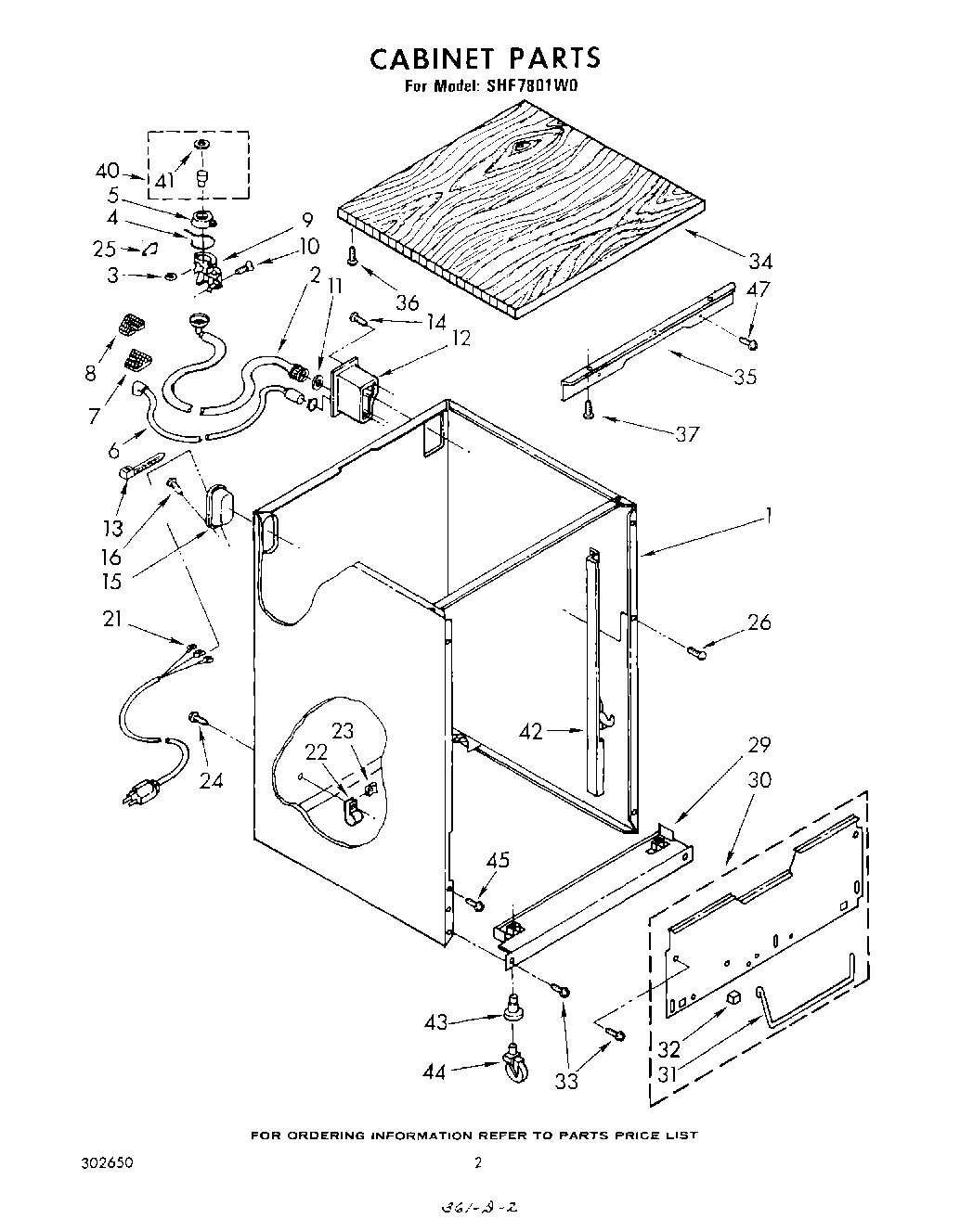
SHF7801W0 02 – CABINET