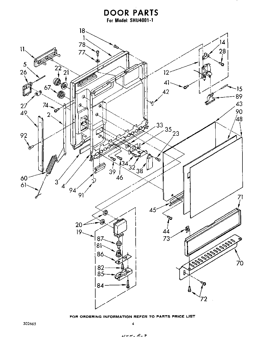
SHU40011 03 – DOOR