SM958PSKW2 06 – MICROWAVEadmin2025-04-26T11:24:56+00:00SM958PSKW2 06 – MICROWAVE
Products
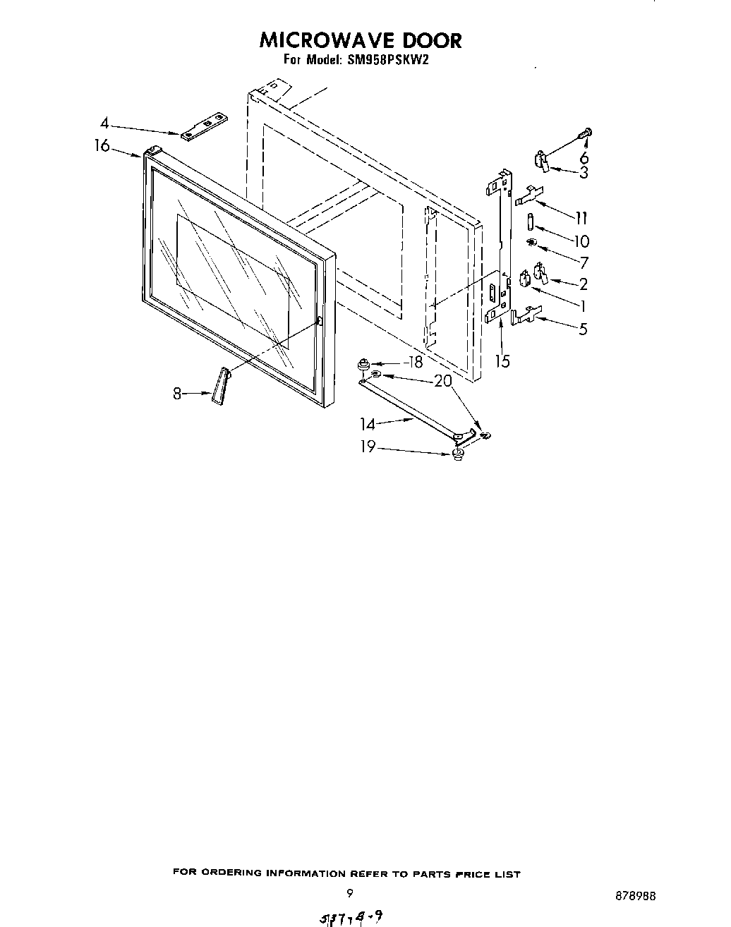
| Position | Product |
|---|
| 1 | Switch, Interlock |
| 2 | Switch, Interlock |
| 3 | Switch, Top Interlock |
| 4 | Hinge, Door (2) |
| 5 | Lever, Microswitch (Lower) |
| 6 | Screw, Interlock Switch |
| 7 | ``E`` Ring (4) |
| 8 | Handle, Latch |
| 10 | Pin, Microswitch Lever (2) |
| 11 | Lever, Microswitch (Upper) |
| 14 | Link, Door |
| 15 | Plate, Microswitch Lever |
| 16 | Door, Microwave Complete |
| 18 | Bearing, Door |
| 19 | Bushing, Guide |
| 20 | E-Ring (2) |