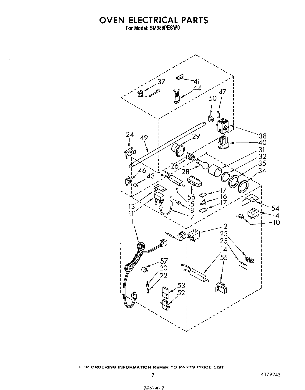
SM988PESW0 05 – OVEN ELECTRICALadmin2025-04-26T11:24:05+00:00SM988PESW0 05 – OVEN ELECTRICAL
Products
| Position | Product |
|---|
| 1 | Cord, Power |
| 2 | Thermostat, Oven |
| 4 | Switch, Selector |
| 7 | 4157608 Whirlpool Surface Igniter |
| 8 | WPY0070927 Whirlpool Microwave Clip |
| 10 | Switch, Burner |
| 11 | Module, Spark |
| 13 | Bracket, Spark Module |
| 14 | 786324 Whirlpool Flat Igniter |
| 16 | Switch, Oven Door Latch |
| 17 | Insulator, Switch |
| 20 | Holder, Fuse |
| 22 | Fuse, 5 AMP |
| 23 | Switch, Aux. Light |
| 24 | Ballast |
| 25 | Insulation, Door Switch (2) |
| 26 | Socket, Oven Lamp |
| 28 | RANGE ONLY 40W 120V APPL BULB |
| 29 | Housing, Light |
| 31 | Retainer, Insulation |
| 32 | Lens, Oven Light |
| 34 | Retainer, Oven Light Lens |
| 35 | Gasket, Oven Light |
| 37 | Outlet, Fan Motor |
| 38 | Cap, 9 Pin Connector |
| 40 | Plug, 9 Pin Connector |
| 41 | Receptacle, 1 Circuit |
| 43 | Starter, Fluorescent |
| 44 | Plug, 2 Circuit |
| 46 | Socket, Starter |
| 47 | Support Bracket, Socket |
| 49 | WP95292 Whirlpool Fluorescent Light Bulb |
| 50 | Lampholder Fluorescent |
| 52 | Receptacle |
| 53 | Plug, 3-Pin |
| 54 | Insulator, Control (2) |
| 55 | Bracket, Bake Ignitor |
| 56 | Bracket, Broiler Ignitor |
| 57 | Plug, Male |