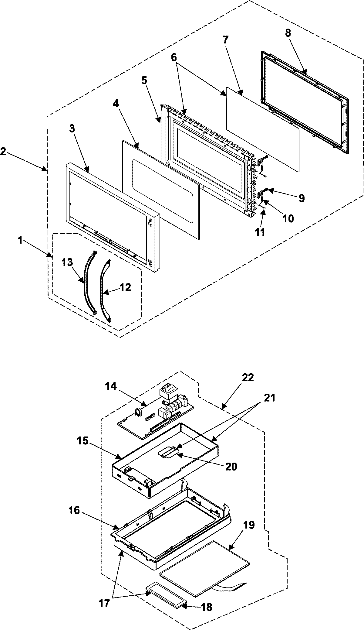
SMH7150BE 02 – CONTROL PANEL/DOOR ASSEMBLYadmin2025-04-26T09:13:44+00:00SMH7150BE 02 – CONTROL PANEL/DOOR ASSEMBLY ProductsPositionProduct1MAY DE97-00250A2MAY DE94-00595G3MAY DE64-00328D4MAY DE64-00444B5MAY DE94-00586B6MAY DE94-00603A7MAY DE01-00091A8MAY DE64-00337A9MAY DE64-00157A10MAY DE61-00151A11MAY DE60-60008A12MAY DE64-00415A13MAY DE63-00071A14MAY RAS-7SMT-0715MAY DE61-00266A16MAY DE64-00331A17MAY DE94-00587A18MAY DE64-00416A19MAY DE34-00168D20MAY DE61-50525A21MAY DE97-00255A22MAY DE94-00807H