SS385PEBQ0 06 – LOCK, LITERATUREadmin2025-04-26T11:24:51+00:00SS385PEBQ0 06 – LOCK, LITERATURE
Products
| Position | Product |
|---|
| Installation Instructions |
| Use & Care Guide |
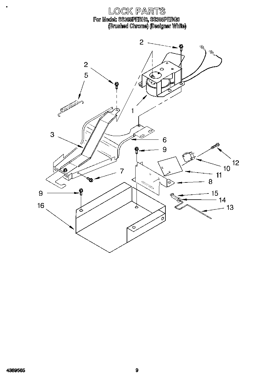
| 1 | Motor, Lock |
| 2 | WP90767 Whirlpool Screw |
| 3 | Lever, Lock |
| 5 | Spring, Lock |
| 6 | Plate, Lock |
| 8 | Bracket, Switch |
| 9 | WP308685 Whirlpool Microwave Screw |
| 10 | Switch |
| 11 | Insulator, Switch |
| 12 | Screw, Mtg. (2) |
| 13 | Pin, Switch |
| 14 | Washer, Nylon |
| 15 | Spring, Actuator |
| 16 | Box, Lock |
| 16 | Main Wire Harness |
| 16 | Ignitor Harness |
| 16 | Switch Harness |
| 16 | Lock Motor Harness |