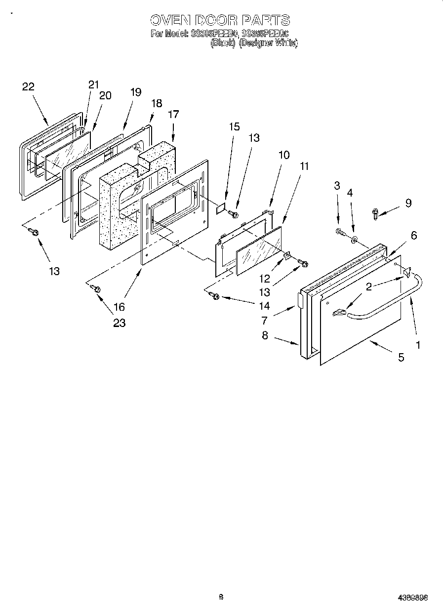
SS385PEEB0 05 – OVEN DOOR