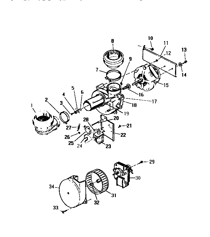
SU330JXR1 08 – PUMP, MOTOR, & COMPONENTSadmin2025-04-26T10:16:26+00:00SU330JXR1 08 – PUMP, MOTOR, & COMPONENTS ProductsPositionProduct*49692CLAMP, HOSE TO FILTER, TOP*49691WCI 194C644H041WCI S4533012WCI S1315113WCI S74014WCI S170015WCI S1229026WCI S75017WCI S1315108BOOT WITH NUT9WCI S800111WCI S44920112SCREW (4)13WCI S1040114GROMMET15WCI S44730116WCI S12320117WCI S12840118WCI S80060219WCI S10470121WCI S950122WCI S27100123WCI S27170124WCI S1030125WCI S27110126WCI S810127WCI S12430128WCI S1280129WCI S1320130WCI S27140131WCI S27130132WCI 194C546H0333WCI S1330134WCI S447101