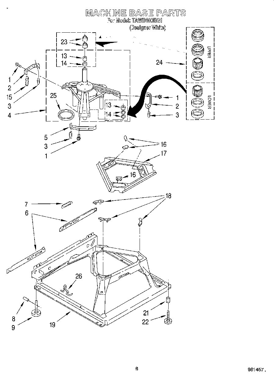
TAWB600EQ1 05 – MACHINE BASE