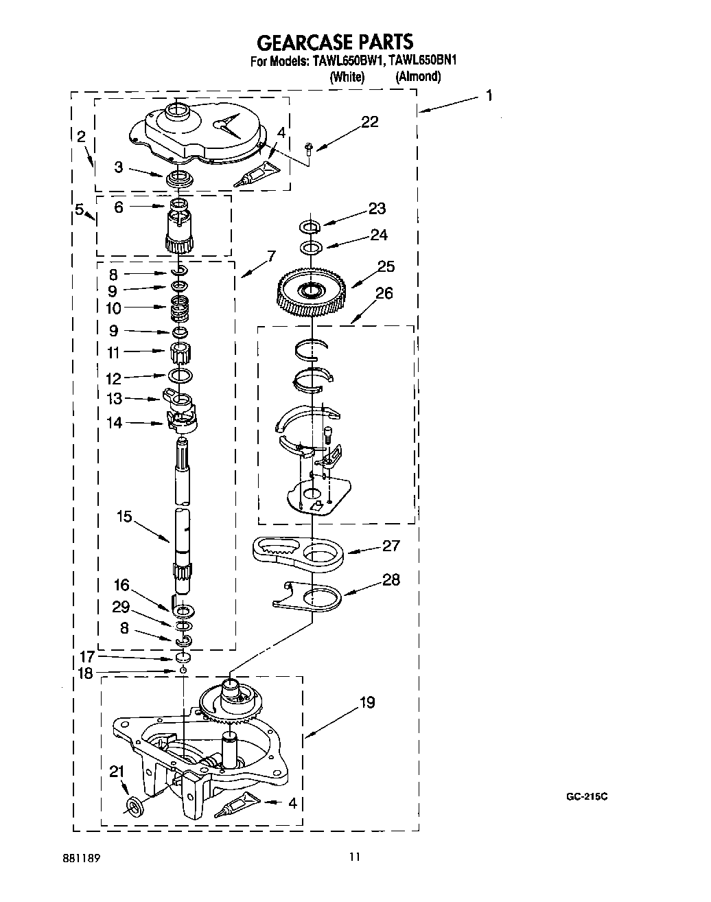
TAWL650BW1 09 – GEARCASE