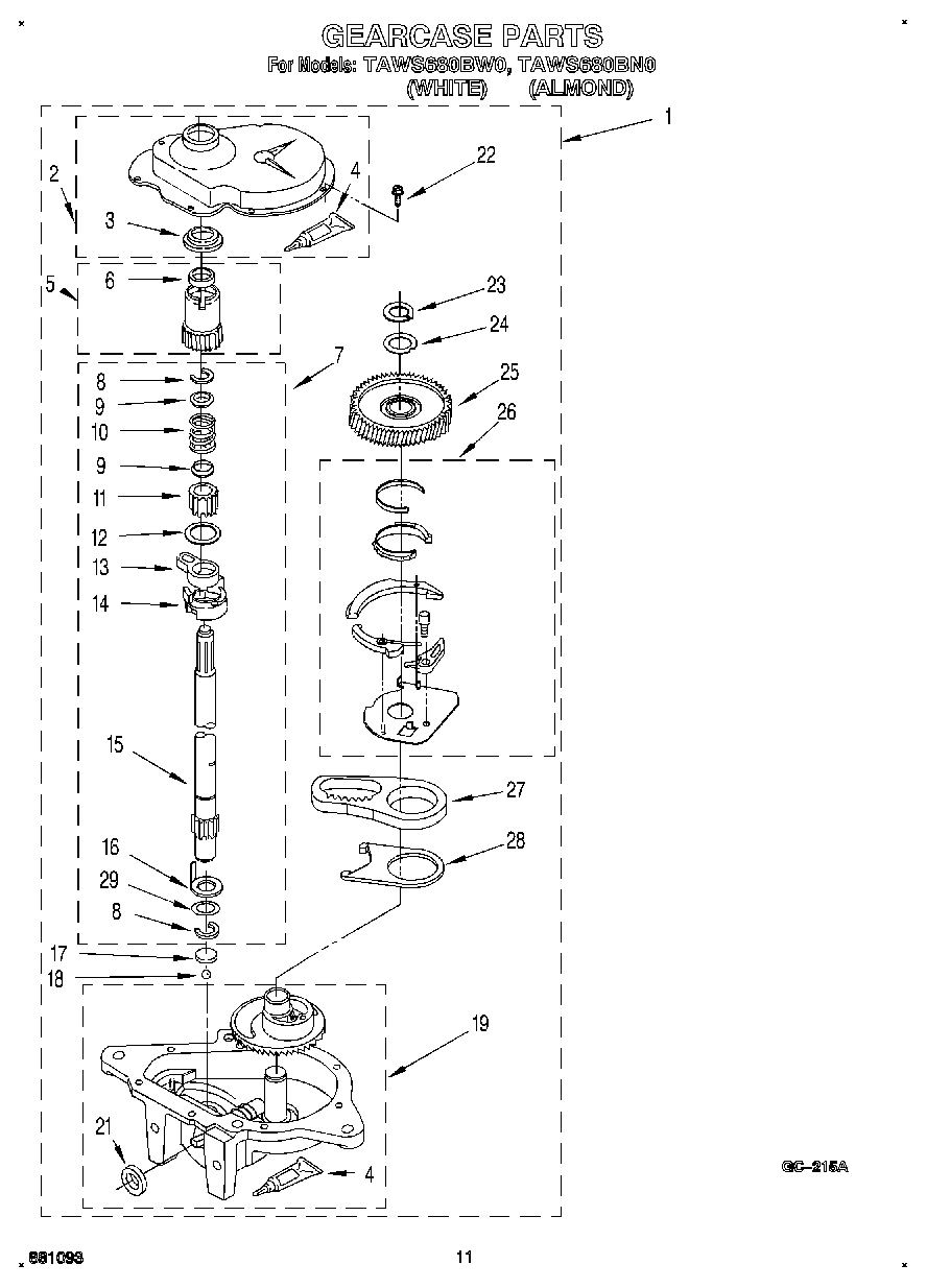
TAWS680BN0 09 – GEARCASE