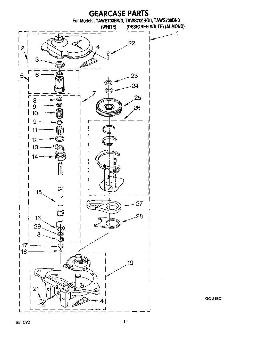
TAWS700BW0 09 – GEARCASE