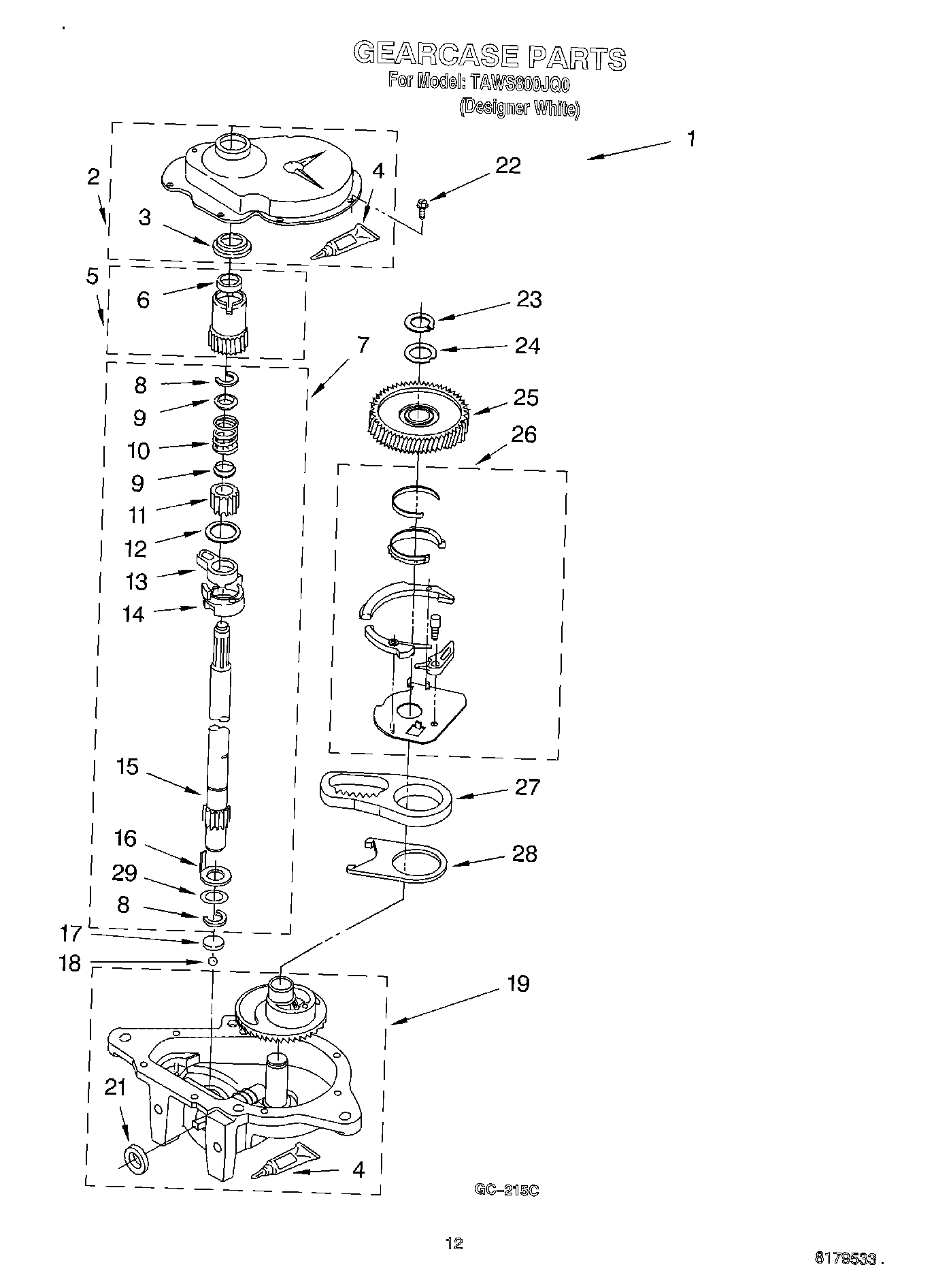
TAWS800JQ0 08 – GEARCASE