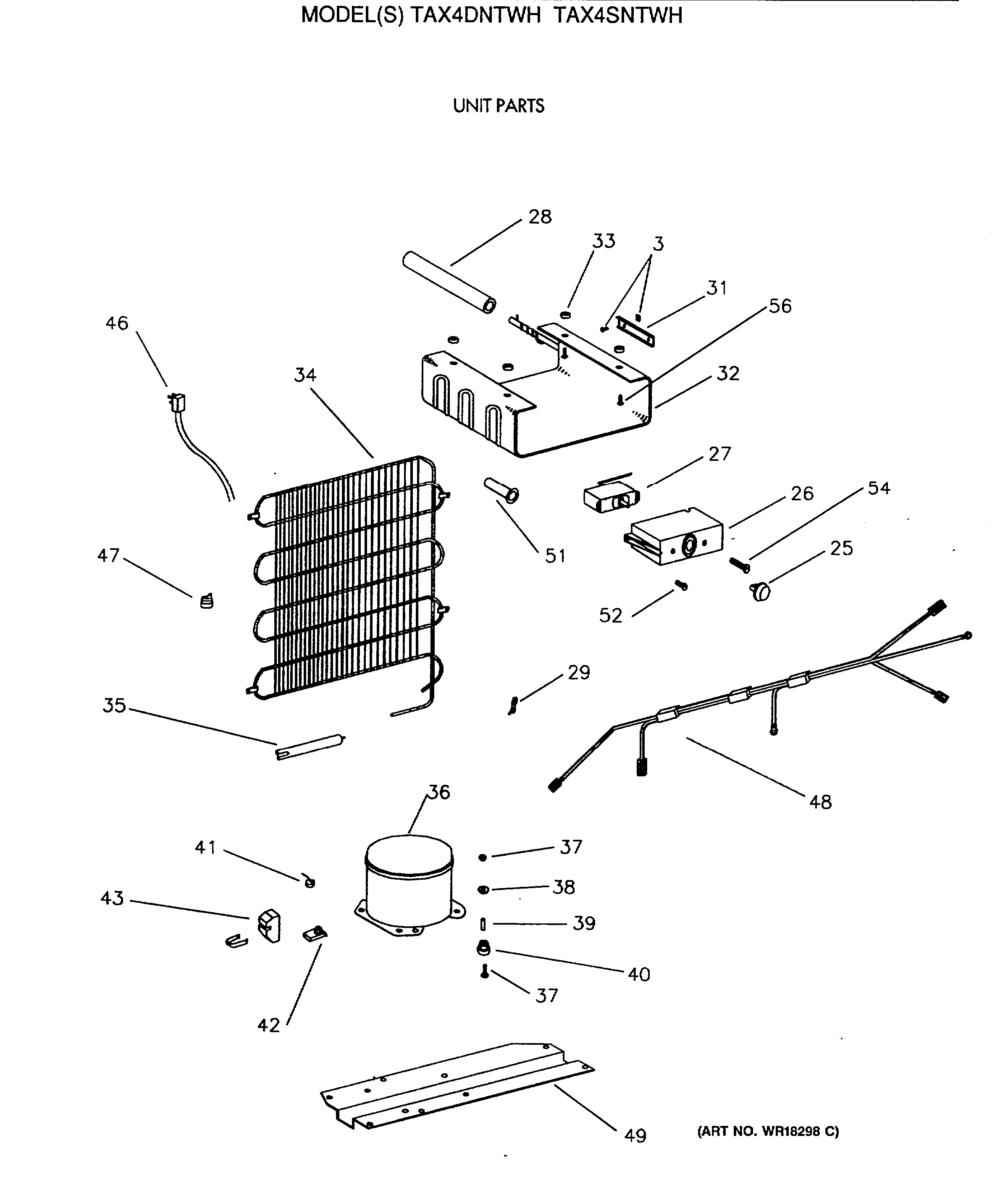
TAX4SNTWH UNIT PARTS