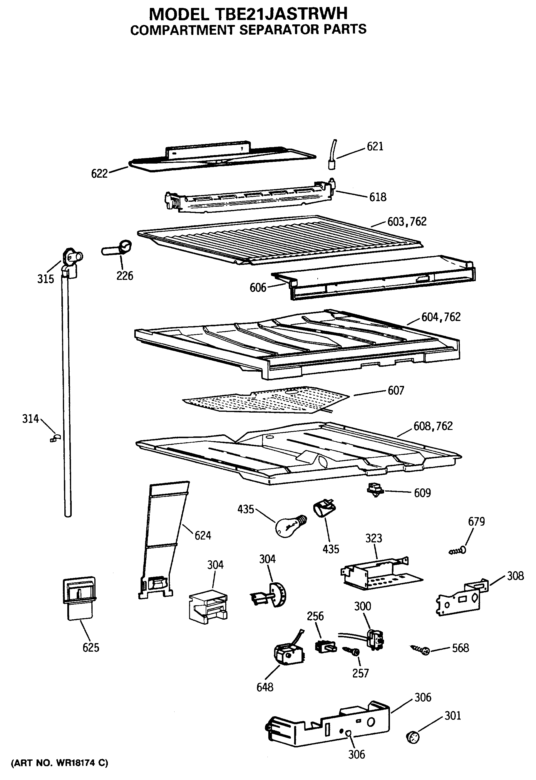
TBE21JASTRWH COMPARTMENT SEPARATOR PARTS