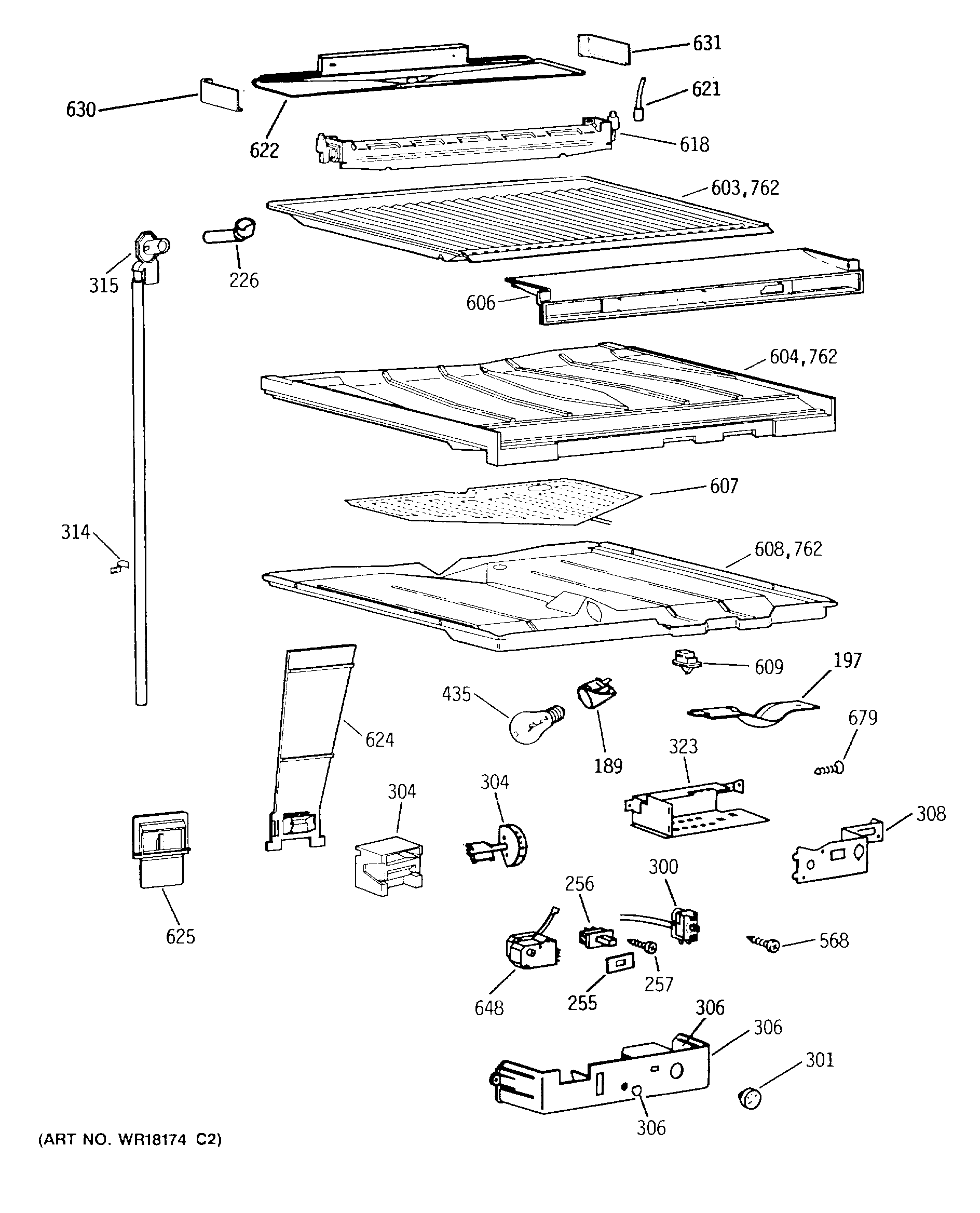
TBE24JATHRWH COMPARTMENT SEPARATOR PARTSadmin2025-04-26T12:19:33+00:00TBE24JATHRWH COMPARTMENT SEPARATOR PARTS ProductsPositionProduct189WR2X9014 GE Refrigerator Socket & Terminal C02197GEN WR02X9013226GEN WR02X7640255GEN WR02X9152256GEN WR23X0408257WZ5X158D GE Screw Package of 12300WR2X8344 GE Refrigerator Vinyl Sleeve300GEN WR09X0540301GEN WR02X9151304GEN WR02X8694304GEN WR02X8363306GEN WR17X3696306GEN WR02X7669306GEN WR02X7652308GEN WR02X7768314GEN WR02X8503315GROMMET DRAIN & TUBE323GEN WR02X7767435RANGE ONLY 40W 120V APPL BULB568SCREW603GEN WR17X2138604INSUL DIVIDER606GEN WR17X2380607GEN WR51X0388608GEN WR17X2765609WR23X37285 GE Light Switch618WR51X466 GE Refrigerator Defrost Heater621GEN WR02X4495622GEN WR17X2160624GEN WR17X2159625GEN WR17X3482630GEN WR17X3694631GEN WR17X3695648WR9X502 GE Refrigerator Defrost Timer679SCREW BRKT. EVAP. FAN762GEN WR14X0313