TBF17PBBR

TBF17PBBR

Products

PositionProduct
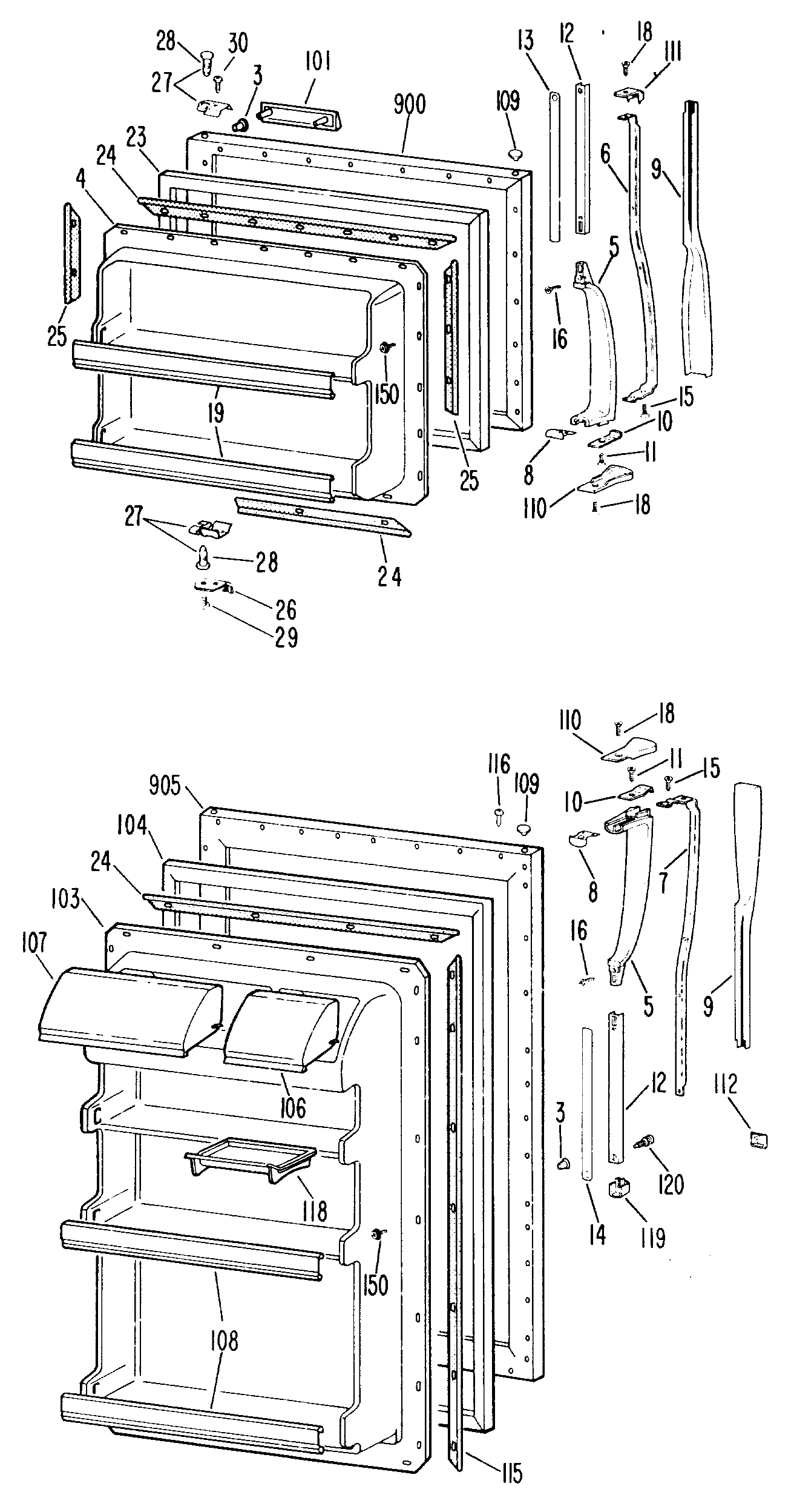
3GEN WR02X3757
4GEN WR77X0402
5GEN WR12X0463
6GEN WR12X0468
7GEN WR12X0469
8GEN WR02X4924
9GEN WR12X0470
10GEN WR02X4925
11SCREW 8-18 B 7/16
12GEN WR12X0471
13GEN WR02X4945
14GEN WR02X4946
15GEN WR01X1564
16GEN WR01X1565
18GEN WR01X1566
19GEN WR71X1510
23GEN WR24X0300
24GEN WR17X0857
25GEN WR17X1209
26GEN WR02X6293
27GEN WR02X6277
28GEN WR02X6278
30SCREW
101GEN WR03X0396
103GEN WR77X0403
104GEN WR24X0301
106GEN WR22X0271
107GEN WR22X0272
108GEN WR71X1511
110GEN WR02X4927
111GEN WR02X4929
112GEN WR04X5058
115GEN WR17X1530
116GEN WR01X1570
118GEN WR19X0024
119GEN WR02X4928
120GEN WR01X1592
150SCREW SW. CRADLE
200GRILLE EVAP COVER
201COVER EVAP ASM
202GEN WR02X7019
203FOAM STRIP MULLION
203GEN WR17X1544
204SUPT-MULLION & NUTSTRIP
205GEN WR02X7060
206GEN WR71X1519
207PLENUM
209GEN WR02X7015
210GEN WR02X7039
211GEN WR02X6261
212GEN WR71X1508
213WR30X311 GE Refrigerator Ice Tray
219GEN WR51X0250
228GEN WR71X1506
230GEN WR38X0961
231GEN WR02X3440
232GEN WR72X0076
233GEN WR72X0075
233GEN WR02X7018
236GEN WR32X0758
237GEN WR17X1616
240VEG. PAN
241GEN WR17X1564
242WR32X5206 GE Refrigerator Vegetable Cover
249SUPPORT PAN COVER
252COVER PAN
256GEN WR23X0203
257SCR 6-32 D TR 3/8 SS
258CHANNEL SUPPT COVER
260WR2X8474 GE Fill Tube
264WR2X3594 GE Refrigerator Wheel
265GEN WR02X3598
265GEN WR02X3595
267COVER ACCESS ASM
268PAN WATER DISPOSAL ASM
275HINGE TOP & PIN ASM
276GEN WR13X0527
277RAIL MACH MTG FRT
278WHEEL ASM FRT
279GEN WR02X7063
280GEN WR02X7190
281GEN WR01X1600
281GEN WR01X1355
281GEN WR01X1114
282GEN WR13X0519
283SHIM HINGE-.031 THK.
285BAFFLE AIR EXTN BTM
286BAFFLE AIR COND FAN
288GEN WR02X7079
288GEN WR74X0159
288GEN WR02X7080
289GEN WR02X7077
290GEN WR02X7078
291GEN WR74X0152
295GEN WR23X0162
296COVER IM RECEPTACLE
300CONTROL TEMP
300GEN WR02X7061
301SLEEVE VINYL
301KNOB TEMP. CONTROL
302HOUSING NOZZLE
303GEN WR02X7008
304GEN WR02X7023
305GEN WR02X7009
306INSUL CONTROL HSG
306GEN WR17X1534
307GEN WR17X1538
308BEZEL CONTROL HSG.
312FUNNEL DRAIN
313TUBE DRAIN
314GEN WR02X4516
315GROMMET DRAIN
320WR2X3139 GE Refrigerator Plug Button
321GEN WR02X4532
321PLUG BUTTON SIDE & FRZ.
322GEN WR02X6345
323GEN WR17X1553
422GEN WR01X1332
435SOCKET LAMP
445R-E-D SERVICE PKG.
450GEN WR02X4194
452GEN WR02X7011
452SHIM HINGE BTM.
551GEN WZ04X0244
560GEN WR01X1249
561SCR 12-24 TT HXW 1 3/64S
564GEN WR01X1194
564SCR 6-20 AB TR 3/8 SS
566GEN WR01X1487
568SCREW
569RIVET POP
573GEN WZ04X0254
601GEN WR17X1552
602PLUG EVAP ACCESS
603LINER BTM FZ
604GEN WR17X1541
604GEN WR02X7072
608LINER TOP FF
609WR23X37285 GE Light Switch
610GEN WR60X0118
611BRACKET EVAP FAN LARGE
612BRACKET SMALL
613WR60X123 GE Fan Blade Black
613WR60X114 GE Refrigerator Evaporator Motor Fan Blade
615GEN WR02X2945
616SHIELD DEF HTR
617COVER DEF HTR
618HEATER DEF ASM
620WR50X60 GE Refrigerator Defrost Thermostat
621BRACKET DEF HTR
622TROUGH DRAIN ASM
623GEN WR14X0289
623COVER DUCT FF
624GEN WR17X1546
626WR23X10300 GE Refrigerator Power Cord Assembly
626WR1X5278 GE Refrigerator Cable Clamp
628GEN WR02X7026
630WR2X4097 GE Button Plug
631PLUG BTN (.875 DIA.HOLE)
631GEN WR02X4829
640BRACKET COMP MTG-R.SIDE
641BRACKET COMP MTG-L.SIDE
642BUSHING COMP MTG
644TONGUE ASM
644GEN WR02X2375
648WR9X502 GE Refrigerator Defrost Timer
649GEN WR02X7027
650WR60X177 GE Condenser Fan Motor
651GEN WR60X0117
652GEN WR02X4191
653GEN WR01X1515
654BRACKET COND FAN
655GEN WR01X1601
675SCR 8-18 AB TR 5/8SS PLW
676WD2X5166 GE Dishwasher Screw
679SCR 8-18 AB HX 3/8 S
680SCR 8-18 AB HX 1/2S W
682SCR 8-36 T HX 7/16 S XTW
683SCREW FAN MTR/BRKT
685SCR 1/4-14 AB HX 1/2S NS
686WZ5X158D GE Screw Package of 12
687SCREW 6-18 X 1/2" ROUND
688GEN WZ04
689WZ5X246 GE Screw
692SCREW
692SCR 8-18 AB HX 1/2 S PL
694GEN WZ05X0247
725MACHINE HIGH SIDE
725REFRIGERANT
726MACHINE LOW SIDE
731CLIP COND
733RELAY COMP
734COVER RELAY
734GEN WR02X3583
735GEN WR08X0030
736COVER COMP MTG BRKT
740WR86X25269 GE Refrigerator R134 Dryer
743EXT COMP MTG
745NUTSTRIP COMP MTG D/J
750GEN WR82X0177
900GEN WR78X7092
900GEN WR78X7089
900GEN WR78X7090
900GEN WR78X7091
900GEN WR78X7093
905GEN WR78X7098
905GEN WR78X7094
905GEN WR78X7095
905GEN WR78X7096
905GEN WR78X7097
910GEN WR02X4931
910GEN WR02X4934
910GEN WR02X4933
910GEN WR02X4932
910GEN WR02X4930
9999GEN 49-6296