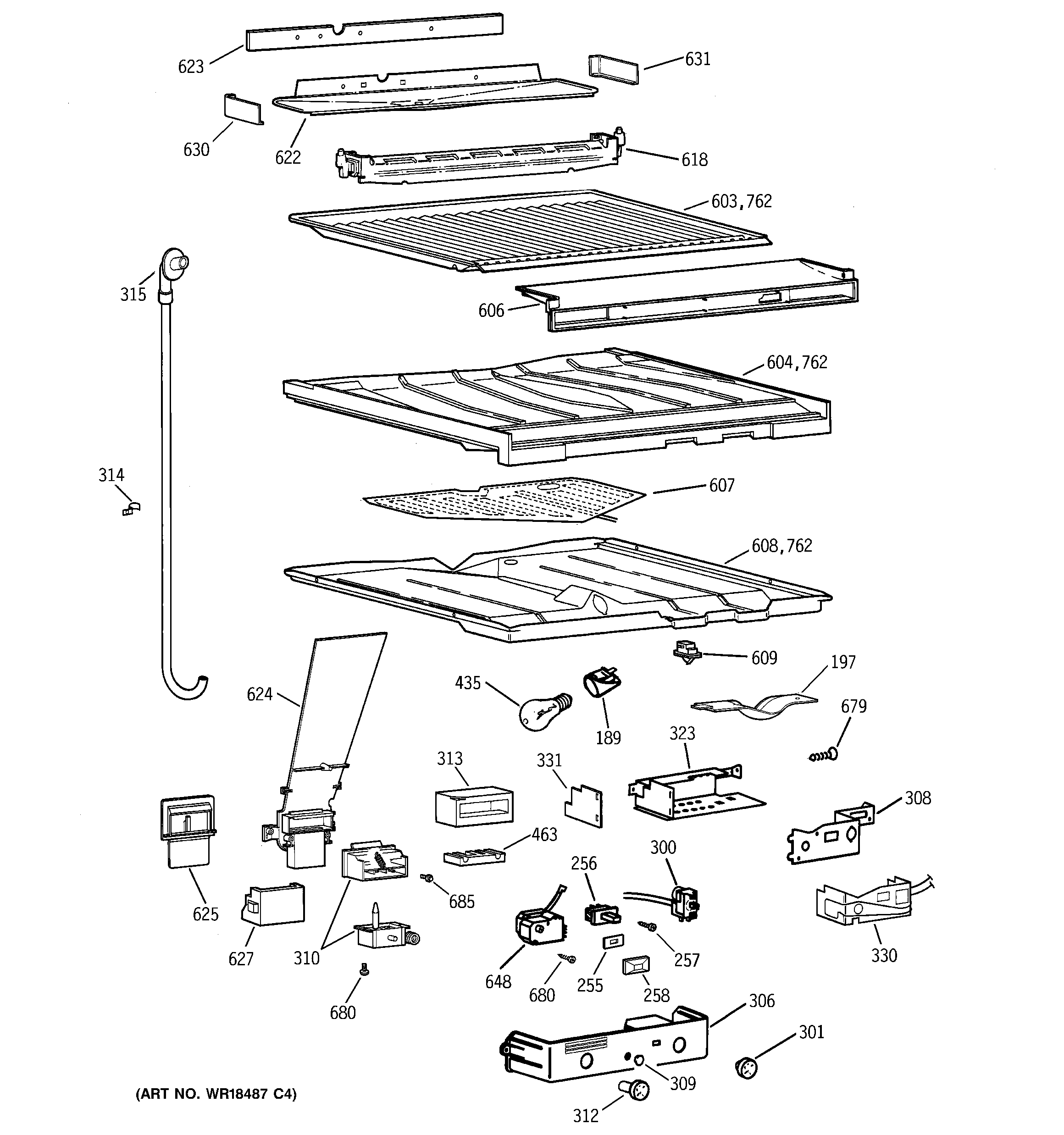
TBG24JADARWW SEPARATOR COMPARTMENT PARTSadmin2025-04-26T12:04:14+00:00TBG24JADARWW SEPARATOR COMPARTMENT PARTS ProductsPositionProduct189WR2X9014 GE Refrigerator Socket & Terminal C02197GEN WR02X9013255GEN WR02X9152256GEN WR23X0408257WZ5X158D GE Screw Package of 12258GEN WR02X9369300GEN WR09X10004300GEN WR02X10031301GEN WR02X10030306GEN WR17X10632308GEN WR02X7768309GEN WR02X7652310GEN WR09X10023312GEN WR02X10029313GEN WR82X10014314GEN WR02X8503315GEN WR02X10134323GEN WR02X7767330GEN WR51X10037331GEN WR02X10463435WR02X12207 GE Refrigerator Net Bulb Light463GEN WR82X0338603GEN WR17X2138604INSUL DIVIDER606GEN WR17X2380607GEN WR51X10008608GEN WR17X10030609WR23X37285 GE Light Switch618HTR & BRKT ASM DEF622GEN WR17X2160623GEN WR14X0348624GEN WR14X10002624GEN WR17X10633625GEN WR17X4059627GEN WR82X10070630GEN WR17X3694631GEN WR17X3695648GEN WR09X10003679SCREW BRKT. EVAP. FAN680GEN WR01X10123685WR01X10606 GE Refrigerator Screw 8-18 CA HX 1/2 S762GEN WR14X0313