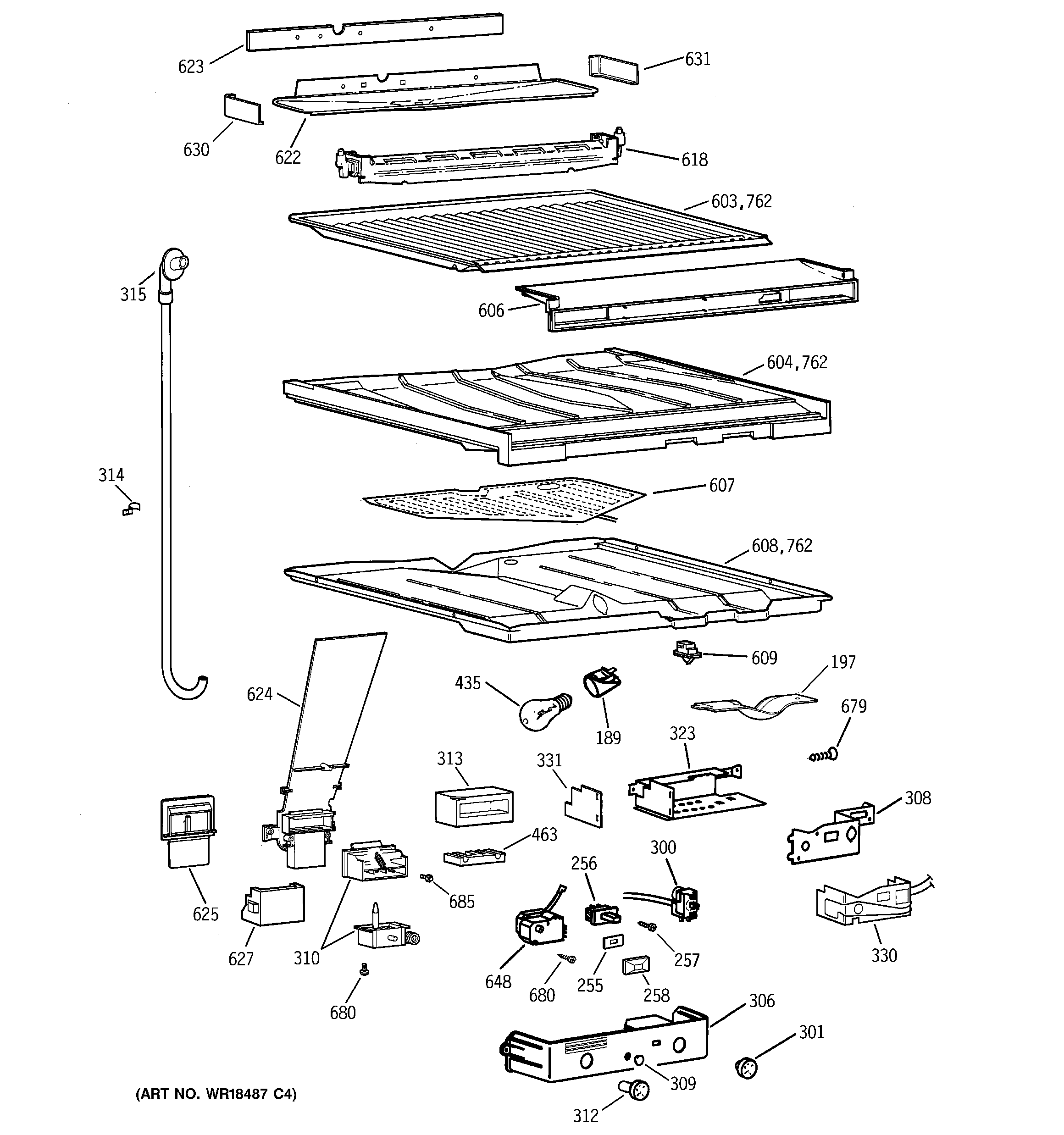
TBG25PADARWW SEPARATOR COMPARTMENT PARTS