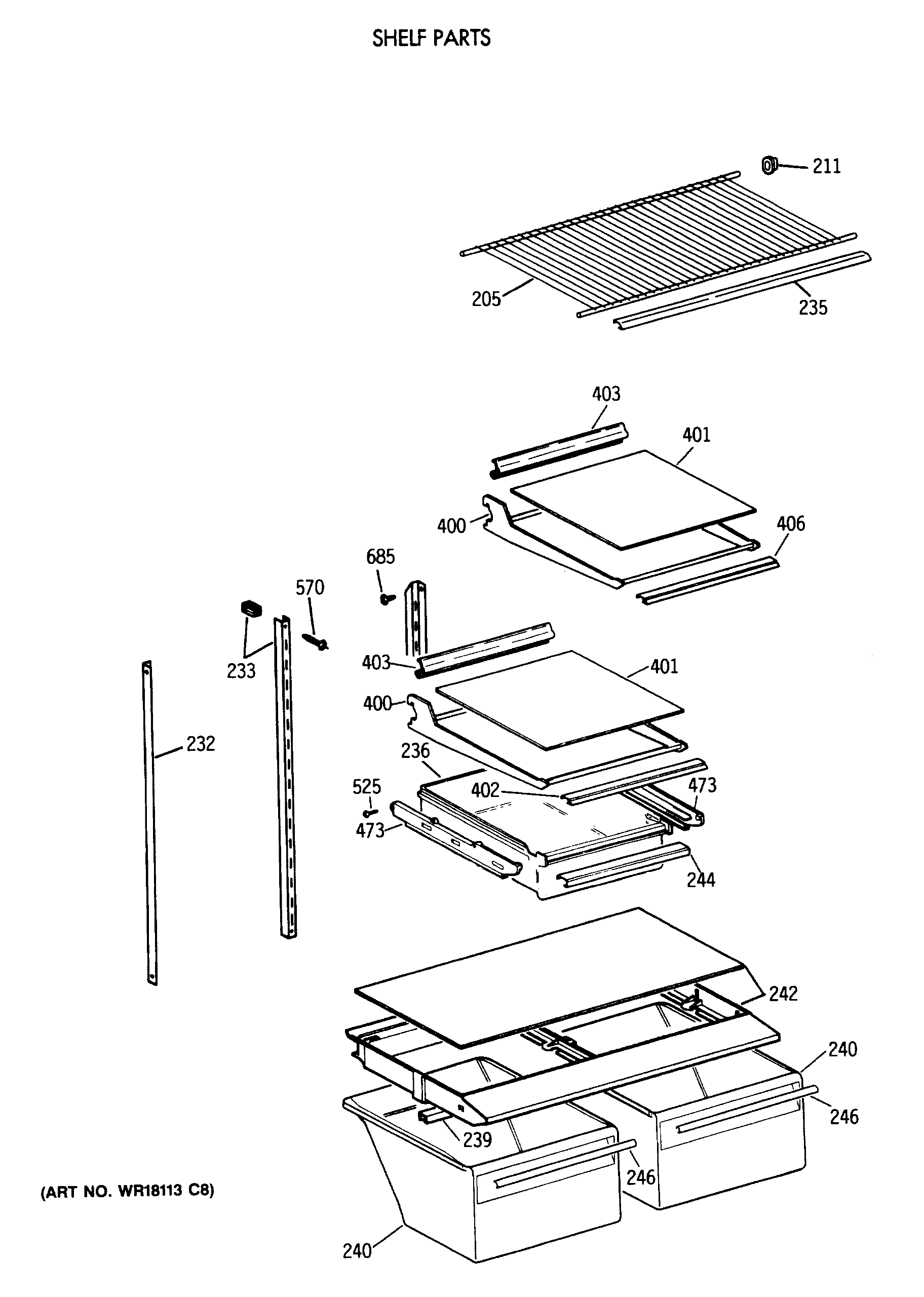
TBH18JAXBRAA SHELF PARTS